0
ADS1018
  • ADS1018
  • ADS1018
  • ADS1018

ADS1018

ACTIVE

12-bit, 3.3-kSPS, 4-channel, delta-sigma ADC with PGA, oscillator, VREF, temp sensor and SPI

Texas Instruments ADS1018 Product Info

1 April 2026 1

Parameters

Resolution (Bits)

12

Sample rate (max) (ksps)

3.3

Number of input channels

4

Interface type

SPI

Architecture

Delta-Sigma

Input type

Differential, Single-ended

Multichannel configuration

Multiplexed

Rating

Catalog

Reference mode

Internal

Input voltage range (max) (V)

5.5

Input voltage range (min) (V)

0

Features

Oscillator, PGA, Small Size, Temp Sensor

Operating temperature range (°C)

-40 to 125

Power consumption (typ) (mW)

0.3

Analog supply voltage (min) (V)

2

Analog supply voltage (max) (V)

5.5

Digital supply (min) (V)

2

Digital supply (max) (V)

5.5

Package

VSSOP (DGS)-10-14.7 mm² 3 x 4.9

Features

  • Ultrasmall X2QFN Package
    2 mm × 1.5 mm × 0.4 mm
  • 12-Bit Noise-Free Resolution
  • Wide Supply Range: 2 V to 5.5 V
  • Low Current Consumption:
    • Continuous Mode: Only 150 µA
    • Single-Shot Mode: Automatic Power-Down
  • Programmable Data Rate: 128 SPS to 3300 SPS
  • Single-Cycle Settling
  • Internal Low-Drift Voltage Reference
  • Internal Temperature Sensor:
    2°C (max) Error
  • Internal Oscillator
  • Internal PGA
  • Four Single-Ended or Two Differential Inputs
  • Specified Temperature: –40°C to +125°C
  • Ultrasmall X2QFN Package
    2 mm × 1.5 mm × 0.4 mm
  • 12-Bit Noise-Free Resolution
  • Wide Supply Range: 2 V to 5.5 V
  • Low Current Consumption:
    • Continuous Mode: Only 150 µA
    • Single-Shot Mode: Automatic Power-Down
  • Programmable Data Rate: 128 SPS to 3300 SPS
  • Single-Cycle Settling
  • Internal Low-Drift Voltage Reference
  • Internal Temperature Sensor:
    2°C (max) Error
  • Internal Oscillator
  • Internal PGA
  • Four Single-Ended or Two Differential Inputs
  • Specified Temperature: –40°C to +125°C

Description

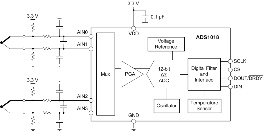
The ADS1018 is a precision, low-power, 12-bit, noise-free, analog-to-digital converter (ADC) that provides all features necessary to measure the most common sensor signals in an ultrasmall, leadless, X2QFN-10 or VSSOP-10 package. The ADS1018 integrates a programmable gain amplifier (PGA), voltage reference, oscillator and high-accuracy temperature sensor. These features, along with a wide power-supply range from 2 V to 5.5 V, make the ADS1018 ideally suited for power- and space-constrained, sensor-measurement applications.

The ADS1018 performs conversions at data rates up to 3300 samples per second (SPS). The PGA offers input ranges from ±256 mV to ±6.144 V, allowing both large and small signals to be measured with high resolution. An input multiplexer (mux) allows measurement of two differential or four single-ended inputs. The high-accuracy temperature sensor is used for system-level temperature monitoring, or cold-junction compensation for thermocouples.

The ADS1018 operates either in continuous-conversion mode, or in a single-shot mode that automatically powers down after a conversion. Single-shot mode significantly reduces current consumption during idle periods. Data are transferred through a serial peripheral interface (SPI™).

The ADS1018 is a precision, low-power, 12-bit, noise-free, analog-to-digital converter (ADC) that provides all features necessary to measure the most common sensor signals in an ultrasmall, leadless, X2QFN-10 or VSSOP-10 package. The ADS1018 integrates a programmable gain amplifier (PGA), voltage reference, oscillator and high-accuracy temperature sensor. These features, along with a wide power-supply range from 2 V to 5.5 V, make the ADS1018 ideally suited for power- and space-constrained, sensor-measurement applications.

The ADS1018 performs conversions at data rates up to 3300 samples per second (SPS). The PGA offers input ranges from ±256 mV to ±6.144 V, allowing both large and small signals to be measured with high resolution. An input multiplexer (mux) allows measurement of two differential or four single-ended inputs. The high-accuracy temperature sensor is used for system-level temperature monitoring, or cold-junction compensation for thermocouples.

The ADS1018 operates either in continuous-conversion mode, or in a single-shot mode that automatically powers down after a conversion. Single-shot mode significantly reduces current consumption during idle periods. Data are transferred through a serial peripheral interface (SPI™).

Subscribe to Welllinkchips !
Your Name
* Email
Submit a request