0
ADC3444
  • ADC3444
  • ADC3444

ADC3444

ACTIVE

Quad-Channel, 14-Bit, 125-MSPS Analog-to-Digital Converter (ADC)

Texas Instruments ADC3444 Product Info

1 April 2026 1

Parameters

Sample rate (max) (Msps)

125

Resolution (Bits)

14

Number of input channels

4

Interface type

Serial LVDS

Analog input BW (MHz)

540

Features

Low Power

Rating

Catalog

Peak-to-peak input voltage range (V)

2

Power consumption (typ) (mW)

391

Architecture

Pipeline

SNR (dB)

73

ENOB (Bits)

11.8

SFDR (dB)

93

Operating temperature range (°C)

-40 to 85

Input buffer

No

Package

VQFN (RTQ)-56-64 mm² 8 x 8

Features

  • Quad Channel
  • 14-Bit Resolution
  • Single Supply: 1.8 V
  • Serial LVDS Interface
  • Flexible Input Clock Buffer With Divide-by-1, -2, -4
  • SNR = 72.4 dBFS, SFDR = 87 dBc at
    fIN = 70 MHz
  • Ultra-Low Power Consumption:
    • 98 mW/Ch at 125 MSPS
  • Channel Isolation: 105 dB
  • Internal Dither and Chopper
  • Support for Multi-Chip Synchronization
  • Pin-to-Pin Compatible With 12-Bit Version
  • Package: VQFN-56 (8 mm × 8 mm)
  • Quad Channel
  • 14-Bit Resolution
  • Single Supply: 1.8 V
  • Serial LVDS Interface
  • Flexible Input Clock Buffer With Divide-by-1, -2, -4
  • SNR = 72.4 dBFS, SFDR = 87 dBc at
    fIN = 70 MHz
  • Ultra-Low Power Consumption:
    • 98 mW/Ch at 125 MSPS
  • Channel Isolation: 105 dB
  • Internal Dither and Chopper
  • Support for Multi-Chip Synchronization
  • Pin-to-Pin Compatible With 12-Bit Version
  • Package: VQFN-56 (8 mm × 8 mm)

Description

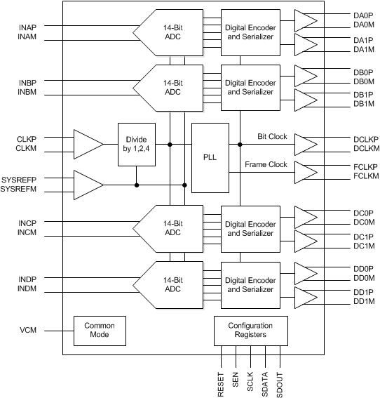
The ADC344x devices are a high-linearity, ultra-low power, quad-channel, 14-bit, 25-MSPS to 125-MSPS, analog-to-digital converter (ADC) family. The devices are designed specifically to support demanding, high input frequency signals with large dynamic range requirements. An input clock divider allows more flexibility for system clock architecture design while the SYSREF input enables complete system synchronization.

The ADC344x family supports serial low-voltage differential signaling (LVDS) to reduce the number of interface lines, thus allowing for high system integration density. The serial LVDS interface is two-wire, where each ADC data are serialized and output over two LVDS pairs. Optionally, a one-wire serial LVDS interface is available. An internal phase-locked loop (PLL) multiplies the incoming ADC sampling clock to derive the bit clock that is used to serialize the 14-bit output data from each channel. In addition to the serial data streams, the frame and bit clocks are transmitted as LVDS outputs.

The ADC344x devices are a high-linearity, ultra-low power, quad-channel, 14-bit, 25-MSPS to 125-MSPS, analog-to-digital converter (ADC) family. The devices are designed specifically to support demanding, high input frequency signals with large dynamic range requirements. An input clock divider allows more flexibility for system clock architecture design while the SYSREF input enables complete system synchronization.

The ADC344x family supports serial low-voltage differential signaling (LVDS) to reduce the number of interface lines, thus allowing for high system integration density. The serial LVDS interface is two-wire, where each ADC data are serialized and output over two LVDS pairs. Optionally, a one-wire serial LVDS interface is available. An internal phase-locked loop (PLL) multiplies the incoming ADC sampling clock to derive the bit clock that is used to serialize the 14-bit output data from each channel. In addition to the serial data streams, the frame and bit clocks are transmitted as LVDS outputs.

Subscribe to Welllinkchips !
Your Name
* Email
Submit a request