0
ADC12DJ3200QML-SP
  • ADC12DJ3200QML-SP
  • ADC12DJ3200QML-SP
  • ADC12DJ3200QML-SP
  • ADC12DJ3200QML-SP

ADC12DJ3200QML-SP

ACTIVE

Radiation-hardness-assured (RHA), QMLV, 300-krad, 12-bit, dual 3.2-GSPS or single 6.4-GSPS ADC

Texas Instruments ADC12DJ3200QML-SP Product Info

1 April 2026 0

Parameters

Sample rate (max) (Msps)

3200, 6400

Resolution (Bits)

12

Number of input channels

1, 2

Interface type

JESD204B

Analog input BW (MHz)

7300

Features

Ultra High Speed

Rating

Space

Peak-to-peak input voltage range (V)

0.8

Power consumption (typ) (mW)

3000

Architecture

Folding Interpolating

SNR (dB)

57.2

ENOB (Bits)

8.9

SFDR (dB)

76

Operating temperature range (°C)

-55 to 125

Input buffer

Yes

Radiation, TID (typ) (krad)

300

Radiation, SEL (MeV·cm2/mg)

120

Package

CCGA-FC (NWE)-196-225 mm² 15 x 15

Features

  • ADC core:
    • 12-Bit resolution
    • Up to 6.4GSPS in single-channel mode
    • Up to 3.2GSPS in dual-channel mode
  • Noise floor (no signal, VFS = 1VPP-DIFF):
    • Dual-channel mode: –149.5dBFS/Hz
    • Single-channel mode: –152.4dBFS/Hz
  • Peak noise power ratio (NPR): 45.4dB
  • Buffered analog inputs with VCMI of 0V:
    • Analog input bandwidth (–3dB): 7GHz
    • Usable input frequency range: >10GHz
    • Full-scale input voltage (VFS, default): 0.8VPP
  • Noiseless aperture delay (tAD) adjustment:
    • Precise sampling control: 19fs step size
    • Temperature and voltage invariant delays
  • Easy-to-use synchronization features
    • Automatic SYSREF timing calibration
    • Timestamp for sample marking
  • JESD204B subclass-1 compliant interface:
    • Maximum lane rate: 12.8Gbps
    • Up to 16 lanes allows reduced lane rate
  • Digital down-converters in dual-channel mode:
    • Real output: DDC bypass or 2x decimation
    • Complex output: 4x, 8x, or 16x decimation
  • Radiation performance:
    • Total Ionizing Dose (TID): 300krad (Si)
    • Single Event Latchup (SEL): 120MeV-cm2/mg
    • Single Event Upset (SEU) immune registers
  • Power consumption: 3W
  • ADC core:
    • 12-Bit resolution
    • Up to 6.4GSPS in single-channel mode
    • Up to 3.2GSPS in dual-channel mode
  • Noise floor (no signal, VFS = 1VPP-DIFF):
    • Dual-channel mode: –149.5dBFS/Hz
    • Single-channel mode: –152.4dBFS/Hz
  • Peak noise power ratio (NPR): 45.4dB
  • Buffered analog inputs with VCMI of 0V:
    • Analog input bandwidth (–3dB): 7GHz
    • Usable input frequency range: >10GHz
    • Full-scale input voltage (VFS, default): 0.8VPP
  • Noiseless aperture delay (tAD) adjustment:
    • Precise sampling control: 19fs step size
    • Temperature and voltage invariant delays
  • Easy-to-use synchronization features
    • Automatic SYSREF timing calibration
    • Timestamp for sample marking
  • JESD204B subclass-1 compliant interface:
    • Maximum lane rate: 12.8Gbps
    • Up to 16 lanes allows reduced lane rate
  • Digital down-converters in dual-channel mode:
    • Real output: DDC bypass or 2x decimation
    • Complex output: 4x, 8x, or 16x decimation
  • Radiation performance:
    • Total Ionizing Dose (TID): 300krad (Si)
    • Single Event Latchup (SEL): 120MeV-cm2/mg
    • Single Event Upset (SEU) immune registers
  • Power consumption: 3W

Description

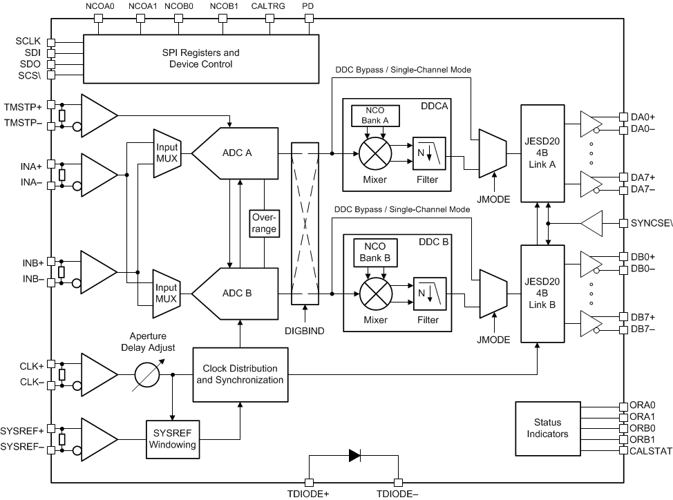
The ADC12DJ3200QML-SP device is an RF-sampling, giga-sample, analog-to-digital converter (ADC) that can directly sample input frequencies from dc to above 10GHz. In dual-channel mode, the ADC12DJ3200QML-SP can sample up to 3200MSPS. In single-channel mode, the device can sample up to 6400MSPS. Programmable tradeoffs in channel count (dual-channel mode) and Nyquist bandwidth (single-channel mode) allow development of flexible hardware that meets the needs of both high channel count or wide instantaneous signal bandwidth applications. Full-power input bandwidth (–3dB) of 7GHz, with usable frequencies exceeding the –3dB point in both dual- and single-channel modes, allows direct RF sampling of L-band, S-band, C-band, and X-band for frequency agile systems.

The ADC12DJ3200QML-SP uses a high-speed JESD204B output interface with up to 16 serialized lanes and subclass-1 compliance for deterministic latency and multidevice synchronization. The serial output lanes support up to 12.8Gbps, and can be configured to trade off bit rate and number of lanes. Innovative synchronization features, including noiseless aperture delay (tAD) adjustment and SYSREF windowing, simplify system design for synthetic aperture radar (SAR) and phased-array MIMO communications. Optional digital down converters (DDCs) in dual-channel mode allow for reduction in interface rate (real and complex decimation modes) and digital mixing of the signal (complex decimation modes only).

The ADC12DJ3200QML-SP device is an RF-sampling, giga-sample, analog-to-digital converter (ADC) that can directly sample input frequencies from dc to above 10GHz. In dual-channel mode, the ADC12DJ3200QML-SP can sample up to 3200MSPS. In single-channel mode, the device can sample up to 6400MSPS. Programmable tradeoffs in channel count (dual-channel mode) and Nyquist bandwidth (single-channel mode) allow development of flexible hardware that meets the needs of both high channel count or wide instantaneous signal bandwidth applications. Full-power input bandwidth (–3dB) of 7GHz, with usable frequencies exceeding the –3dB point in both dual- and single-channel modes, allows direct RF sampling of L-band, S-band, C-band, and X-band for frequency agile systems.

The ADC12DJ3200QML-SP uses a high-speed JESD204B output interface with up to 16 serialized lanes and subclass-1 compliance for deterministic latency and multidevice synchronization. The serial output lanes support up to 12.8Gbps, and can be configured to trade off bit rate and number of lanes. Innovative synchronization features, including noiseless aperture delay (tAD) adjustment and SYSREF windowing, simplify system design for synthetic aperture radar (SAR) and phased-array MIMO communications. Optional digital down converters (DDCs) in dual-channel mode allow for reduction in interface rate (real and complex decimation modes) and digital mixing of the signal (complex decimation modes only).

Subscribe to Welllinkchips !
Your Name
* Email
Submit a request