0
MAX5523
  • MAX5523

MAX5523

PRODUCTION

Dual, Ultra-Low-Power, 10-Bit, Voltage-Output DACs

Analog Devices MAX5523 Product Info

10 February 2026 9

Features

  • Ultra-Low 5µA Supply Current
  • Shutdown Mode Reduces Supply Current to 0.18µA (max)
  • Single +1.8V to +5.5V Supply
  • Small 4mm x 4mm x 0.8mm Thin QFN Package
  • Internal Reference Sources 8mA of Current (MAX5523/MAX5525)
  • Flexible Force-Sense-Configured Rail-to-Rail Output Buffers
  • Fast 16MHz, 3-Wire, SPI-/QSPI-/MICROWIRE-Compatible Serial Interface
  • TTL- and CMOS-Compatible Digital Inputs with Hysteresis
  • Glitch-Free Outputs During Power-Up
  • EV Kit Available

Part details & applications

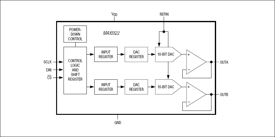
The MAX5522-MAX5525 are dual, 10-bit, ultra-lowpower, voltage-output, digital-to-analog converters (DACs) offering rail-to-rail buffered voltage outputs. The DACs operate from a 1.8V to 5.5V supply and consume less than 5µA, making the devices suitable for lowpower and low-voltage applications. A shutdown mode reduces overall current, including the reference input current, to just 0.18µA. The MAX5522-MAX5525 use a 3-wire serial interface that is compatible with SPI™, QSPI™, and MICROWIRE™.

Upon power-up, the MAX5522-MAX5525 outputs are driven to zero scale, providing additional safety for applications that drive valves or for other transducers that need to be off during power-up. The zero-scale outputs enable glitch-free power-up. The MAX5522 accepts an external reference input and provides unity-gain outputs. The MAX5523 contains a precision internal reference and provides a buffered external reference output with unity-gain DAC outputs. The MAX5524 accepts an external reference input and provides force-sense outputs. The MAX5525 contains a precision internal reference and provides a buffered external reference output with force-sense DAC outputs. The MAX5524/MAX5525 are available in a 4mm x 4mm x 0.8mm, 12-pin, thin QFN package. The MAX5522/MAX5523 are available in an 8-pin µMAX package. All devices are guaranteed over the extended -40°C to +85°C temperature range. For 12-bit compatible devices, refer to the MAX5532-MAX5535 data sheet. For 8-bit compatible devices, refer to the MAX5512-MAX5515 data sheet.

Applications

  • Automatic Trimming and Calibration in Factory or Field
  • Chemical Sensor Cell Bias for Gas Monitors
  • Industrial Process Control and Remote

Subscribe to Welllinkchips !
Your Name
* Email
Submit a request