0
MAX506
  • MAX506

MAX506

PRODUCTION

Quad, 8-Bit DAC with Rail-to-Rail Outputs See MAX5100 for Single-Supply New Designs

Analog Devices MAX506 Product Info

10 February 2026 5

Features

  • Operate from Single +5V Supply or Dual ±5V Supplies
  • Output Buffer Amplifiers Swing Rail-to-Rail
  • Reference Input Range Includes Both Supply Rails
  • Factory-Calibrated for 1 LSB TUE
  • Double-Buffered Digital Inputs (MAX505)
  • Microprocessor and TTL/CMOS Compatible
  • Require No External Adjustments
  • Pin-Compatible Upgrades to MX7225/MX7226
  • Now Available in Tiny SSOP Package

Part details & applications

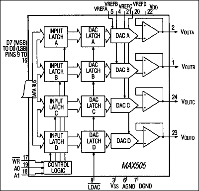
The MAX505 and MAX506 are CMOS, quad, 8-bit voltage-output digital-to-analog converters (DACs). The parts operate with a single +5V supply or a dual ±5V supplies. Internal, precision output buffers swing rail-to-rail. The reference input range includes both supply rails. Offset, gain, and linearity are factory calibrated to provide 1 LSB total unadjusted error (TUE) over the full operating temperature range.

The MAX505 contains double-buffered logic inputs, which allow all analog outputs to be simultaneously updated using the asynchronous load DAC (active-low LDAC) control signal. The MAX505 also has four separate reference inputs, allowing each DAC’s full-scale range to be independently set. The MAX506 has separate inputs latches for each of its four DACs. Data is transferred to the input latches from a common 8-bit input port. The DACs are individually selected through address inputs A0 and A1, and updated by bringing active-low WR low. All MAX506 DACs share a common reference input. All logic inputs are TTL and +5V CMOS compatible.

Applications

  • Arbitrary Function Generators
  • Automatic Test Equipment
  • Digital Offset/Gain Adjustment
  • Industrial Process Control
  • Minimum Component Count Analog Systems
  • Programmable Attenuators

Subscribe to Welllinkchips !
Your Name
* Email
Submit a request