0
MAX1241
  • MAX1241

MAX1241

PRODUCTION

+2.7V, Low-Power, 12-Bit Serial ADCs in 8-Pin SO

Analog Devices MAX1241 Product Info

10 February 2026 8

Features

  • Single-Supply Operation:
    • +2.7V to +3.6V (MAX1240)
    • +2.7V to +5.25V (MAX1241)
  • 12-Bit Resolution
  • Internal 2.5V Reference (MAX1240)
  • Small Footprint: 8-Pin PDIP/SO Packages
  • Low Power: 3.7µW (73ksps, MAX1240)
    • 3mW (73ksps, MAX1241)
    • 66µW (1ksps, MAX1241)
    • 5µW (power-down mode)
  • Internal Track/Hold
  • SPI/QSPI/MICROWIRE 3-Wire Serial Interface
  • Internal Clock

Part details & applications

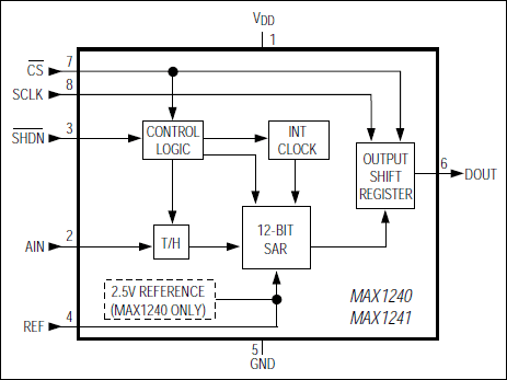
The MAX1240/MAX1241 low-power, 12-bit analog-to-digital converters (ADCs) are available in 8-pin packages. The MAX1240 operates with a single +2.7V to +3.6V supply, and the MAX1241 operates with a single +2.7V to +5.25V supply. Both devices feature a 7.5µs successive-approximation ADC, a fast track/hold (1.5µs), an on-chip clock, and a high-speed, 3-wire serial interface.

Power consumption is only 37mW (VDD = 3V) at the 73ksps maximum sampling speed. A 2µA shutdown mode reduces power at slower throughput rates.

The MAX1240 has an internal 2.5V reference, while the MAX1241 requires an external reference. The MAX1241 accepts signals from 0V to VREF, and the reference input range includes the positive supply rail. An external clock accesses data from the 3-wire interface, which connects directly to standard microcontroller I/O ports. The interface is compatible with SPI™, QSPI™, and MICROWIRE™.

Excellent AC characteristics and very low power combined with ease of use and small package size make these converters ideal for remote-sensor and data-acquisition applications, or for other circuits with demanding power consumption and space requirements. The MAX1240/MAX1241 are available in 8-pin PDIP and SO packages.

Applications

  • Battery-Powered Applications
  • Instrumentation
  • Isolated Data Acquisition
  • Portable Data Logging
  • Process Control

Subscribe to Welllinkchips !
Your Name
* Email
Submit a request