0
LTC2280
  • LTC2280
  • LTC2280
  • LTC2280

LTC2280

PRODUCTION

Dual 10-Bit, 105Msps Low Noise 3V ADC

Analog Devices LTC2280 Product Info

10 February 2026 5

Features

  • Integrated Dual 10-Bit ADCs
  • Sample Rate: 105Msps
  • Single 3V Supply (2.85V to 3.4V)
  • Low Power: 540mW
  • 61.6dB SNR, 85dB SFDR
  • 110dB Channel Isolation at 100MHz
  • Flexible Input: 1VP-P to 2VP-P Range
  • 575MHz Full Power Bandwidth S/H
  • Clock Duty Cycle Stabilizer
  • Shutdown and Nap Modes
  • Pin Compatible Family
    • 105Msps: LTC2282 (12-Bit), LTC2280 (10-Bit)
    • 80Msps: LTC2294 (12-Bit), LTC2289 (10-Bit)
    • 65Msps: LTC2293 (12-Bit), LTC2288 (10-Bit)
    • 40Msps: LTC2292 (12-Bit), LTC2287 (10-Bit)
    • 25Msps: LTC2291 (12-Bit), LTC2286 (10-Bit)
    • 10Msps: LTC2290 (12-Bit)
  • 64-Pin (9mm × 9mm) QFN Package

Part details & applications

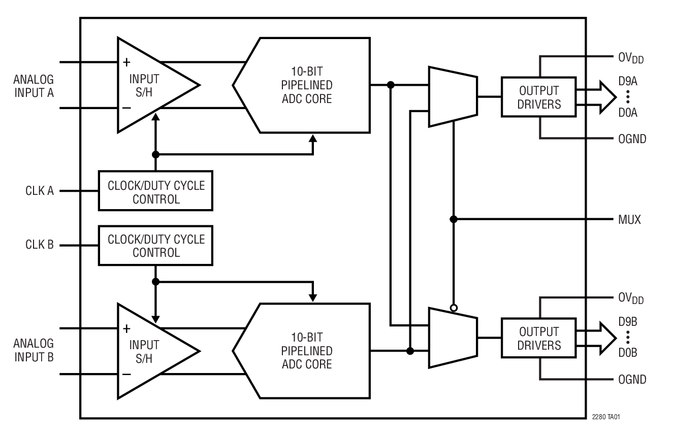
The LTC2280 is a 10-bit 105Msps, low noise 3V dual A/D converter designed for digitizing high frequency, wide dynamic range signals. The LTC2280 is perfect for demanding imaging and communications applications with AC performance that includes 61.6dB SNR and 85dB SFDR for signals at the Nyquist frequency.

DC specs include ±0.1LSB INL (typ), ±0.1LSB DNL (typ) and ±0.6LSB INL, ±0.6LSB DNL over temperature. The transition noise is a low 0.08LSBRMS.

A single 3V supply allows low power operation. A separate output supply allows the outputs to drive 0.5V to 3.6V logic.

A single-ended CLK input controls converter operation. An optional clock duty cycle stabilizer allows high performance at full speed for a wide range of clock duty cycles.

Applications

  • Wireless and Wired Broadband Communication
  • Imaging Systems
  • Spectral Analysis
  • Portable Instrumentation

Subscribe to Welllinkchips !
Your Name
* Email
Submit a request