0
ADV7401
  • ADV7401

ADV7401

PRODUCTION

10-Bit, Integrated, Multiformat SDTV/HDTV Video Decoder and RGB Graphics Digitizer

Analog Devices ADV7401 Product Info

10 February 2026 9

Features

  • Four 10-bit ADCs sampling up to 140 MHz
  • 12 analog input channel mux & SCART fast blank support
  • Internal Anti-Alias Filters
  • NTSC/PAL/SECAM color standards support
  • 720p-/1080i-component HDTV support
  • Digitizes RGB graphics up to 1280 × 1024 @ 75 Hz (SXGA)
  • 525p-/625p-component progressive scan support
  • 24-bit digital input port supports data from DVI/HDMI Rx IC
  • Any-to-any, 3 × 3 color-space conversion matrix
  • Industrial temperature range (−40°C to +85°C)
  • 12-bit 4:4:4/8-bit 4:2:2 DDR pixel output interface
  • VBI data slicer (including TeleText)

Part details & applications

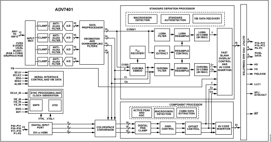
The ADV7401 is a high quality, single chip, multiformat video decoder and graphics digitizer. This multiformat decoder supports the conversion of PAL, NTSC, and SECAM standards in the form of composite or S-video into a digital ITU-R BT.656 format. The ADV7401 also supports the decoding of a component RGB/YPrPb video signal into a digital YCrCb or RGB pixel output stream. The support for component video includes standards such as 525i, 625i, 525p, 625p, 720p, 1080i, 1250i, and many other HD and SMPTE standards. Graphic digitization is also supported by the ADV7401; it is capable of digitizing RGB graphics signals from VGA to SXGA rates and converting them into a digital RGB or YCrCb pixel output stream. SCART and overlay functionality are enabled by the ADV7401’s ability to simultaneously process CVBS and standard definition RGB signals. The mixing of these signals is controlled by the fast blank pin.

APPLICATIONS

  • LCD/DLP rear projection HDTVs
  • PDP HDTVs
  • CRT HDTVs
  • LCD/DLP front projectors
  • LCD TV (HDTV ready)
  • HDTV STBs with PVR
  • AV-Receivers
  • Multiformat scan converters
  • DVD recorders with progressive scan input support

Subscribe to Welllinkchips !
Your Name
* Email
Submit a request