0
ADG5208
  • ADG5208
  • ADG5208

ADG5208

RECOMMENDED FOR NEW DESIGNS

High Voltage Latch-Up Proof, 4-/8-Channel Multiplexers

Analog Devices ADG5208 Product Info

10 February 2026 12

Features

  • Latch-up proof
  • 2.9 pF off source capacitance
  • 17 pF off drain capacitance
  • 0.4 pC charge injection
  • Low on resistance: 160 Ω typical
  • ±9 V to ±22 V dual-supply operation
  • 9 V to 40 V single-supply operation
  • 48 V supply maximum ratings
  • Fully specified at ±15 V, ±20 V, +12 V, and +36 V
  • See data sheet for additional features
ADG5208-EP supports defense and aerospace applications (AQEC standard)
  • Download ADG5208-EP data sheet (pdf)
  • Military temperature range: –55°C to +125°C
  • Controlled manufacturing baseline
  • One assembly and test site
  • One fabrication site
  • Enhanced product change notification
  • Qualification data available on request
  • V62/15601 DSCC Drawing Number

Part details & applications

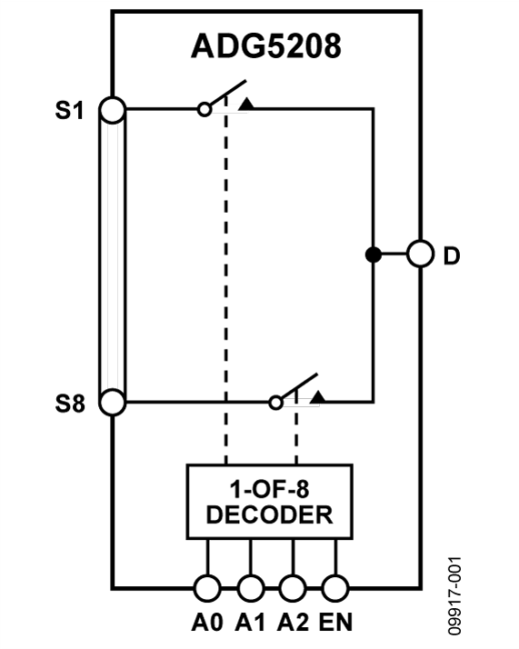
The ADG5208/ADG5209 are monolithic CMOS analog multiplexers comprising eight single channels and four differential channels, respectively. The ADG5208 switches one of eight inputs to a common output, as determined by the 3-bit binary address lines, A0, A1, and A2. The ADG5209 switches one of four differential inputs to a common differential output, as determined by the 2-bit binary address lines, A0 and A1.

An EN input on both devices enables or disables the device. When EN is disabled, all channels switch off. The ultralow capacitance and charge injection of these switches make them ideal solutions for data acquisition and sample-and-hold applications, where low glitch and fast settling are required. Fast switching speed coupled with high signal bandwidth make these devices suitable for video signal switching.

Each switch conducts equally well in both directions when on, and each switch has an input signal range that extends to the power supplies. In the off condition, signal levels up to the supplies are blocked.

The ADG5208/ADG5209 do not have VL pins; instead, the logic power supply is generated internally by an on-chip voltage generator.

Product Highlights

  1. Trench Isolation Guards Against Latch-Up.
    A dielectric trench separates the P and N channel transistors
    to prevent latch-up even under severe overvoltage conditions.
  2. 0.4 pC Charge Injection.
  3. Dual-Supply Operation.
    For applications where the analog signal is bipolar, the 
    ADG5208/ADG5209 can be operated from dual supplies of up to ±22 V.
  4. Single-Supply Operation.
    For applications where the analog signal is unipolar, the
    ADG5208/ADG5209 can be operated from a single rail power supply of up to 40 V.
  5. 3 V Logic-Compatible Digital Inputs.

Subscribe to Welllinkchips !
Your Name
* Email
Submit a request