0
ADF4107
  • ADF4107
  • ADF4107

ADF4107

PRODUCTION

7 GHz integer-N PLL

Analog Devices ADF4107 Product Info

10 February 2026 8

Features

  • 7.0 GHz bandwidth
  • 2.7 V to 3.3 V power supply
  • Separate charge pump supply (VP) allows extended tuning voltage in 3 V systems
  • Programmable dual-modulus prescaler 8/9, 16/17, 32/33, 64/65
  • Programmable charge pump currents
  • Programmable antibacklash pulsewidth
  • 3-wire serial interface
  • Analog and digital lock detect
  • Hardware and software power-down mode

Part details & applications

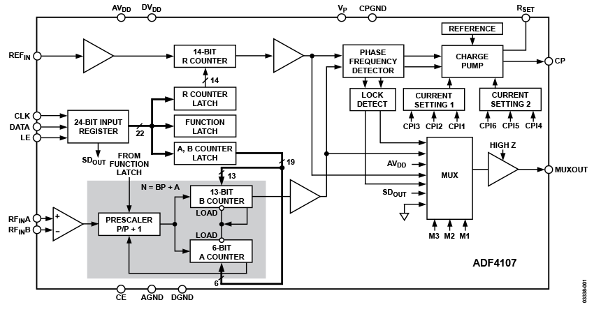
The ADF4107 frequency synthesizer can be used to implement local oscillators in the up-conversion and down-conversion sections of wireless receivers and transmitters. It consists of a low-noise digital PFD (phase frequency detector), a precision charge pump, a programmable reference divider, programmable A and B counters, and a dual-modulus prescaler (P/P + 1). The A (6-bit) and B (13-bit) counters, in conjunction with the dual-modulus prescaler (P/P + 1), implement an N divider (N = BP + A). In addition, the 14-bit reference counter (R counter), allows selectable REFIN frequencies at the PFD input. A complete PLL (phase-locked loop) can be implemented if the synthesizer is used with an external loop filter and VCO (voltage controlled oscillator). Its very high bandwidth means that frequency doublers can be eliminated in many high frequency systems, simplifying system architecture and reducing cost.  

Subscribe to Welllinkchips !
Your Name
* Email
Submit a request