0
AD9273
  • AD9273
  • AD9273
  • AD9273

AD9273

PRODUCTION

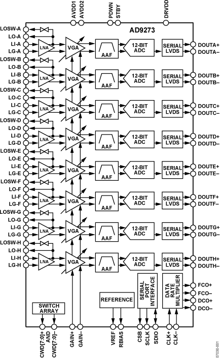
Octal LNA/VGA/AAF/ADC and Crosspoint Switch

Analog Devices AD9273 Product Info

10 February 2026 6

Features

  • 8 channels of LNA, VGA, AAF, and ADC
  • Low noise preamplifier (LNA) - See data sheet for additional information
  • Variable gain amplifier (VGA) - See data sheet for additional information
  • Antialiasing filter (AAF) - See data sheet for additional information
  • Analog-to-digital converter (ADC) - See data sheet for additional information
  • Includes an 8 × 8 differential crosspoint switch to support continuous wave (CW) Doppler
  • Low power, 109 mW per channel at 12 bits/40 MSPS (TGC)
  • 70 mW per channel in CW Doppler
  • Flexible power-down modes
  • Overload recovery in <10 ns
  • See data sheet for additional features

Part details & applications

The AD9273 is designed for low cost, low power, small size, and ease of use. It contains eight channels of a low noise preamplifier (LNA) with a variable gain amplifier (VGA); an antialiasing filter (AAF); and a 12-bit, 10 MSPS to 50 MSPS analog-to-digital converter (ADC).

Each channel features a variable gain range of 42 dB, a fully differential signal path, an active input preamplifier termination, a maximum gain of up to 52 dB, and an ADC with a conversion rate of up to 50 MSPS. The channel is optimized for dynamic performance and low power in applications where a small package size is critical.

The LNA has a single-ended-to-differential gain that is selectable through the SPI. The LNA input-referred noise voltage is typically 1.26 nV/√Hz at a gain of 21.3 dB, and the combined input-referred noise voltage of the entire channel is 1.42 nV/√Hz at typical gain. Assuming a 15 MHz noise bandwidth (NBW) and a 21.3 dB LNA gain, the input SNR is about 91 dB. In CW Doppler mode, the LNA output drives a transconductance amp that is switched through an 8 × 8 differential crosspoint switch. The switch is programmable through the SPI.

APPLICATIONS

  • Medical imaging/ultrasound
  • Automotive radar

Subscribe to Welllinkchips !
Your Name
* Email
Submit a request