0
AD6679
  • AD6679
  • AD6679

AD6679

RECOMMENDED FOR NEW DESIGNS

135 MHz BW IF Diversity Receiver

Analog Devices AD6679 Product Info

10 February 2026 6

Features

  • Parallel LVDS (DDR) outputs
  • In-band SFDR = 82 dBFS at 340 MHz (500 MSPS)
  • In-band SNR = 67.8 dBFS at 340 MHz (500 MSPS)
  • 1.1 W total power per channel at 500 MSPS (default settings)
  • Noise density = −153 dBFS/Hz at 500 MSPS
  • 1.25 V, 2.50 V, and 3.3 V dc supply operation
  • Flexible input range: 1.46 V p-p to 2.06 V p-p (2.06 V p-p nominal)
  • 95 dB channel isolation/crosstalk
  • Amplitude detect bits for efficient automatic gain control (AGC) implementation
  • Noise shaping requantizer (NSR) option for main receiver function
  • See data sheet for additional features

Part details & applications

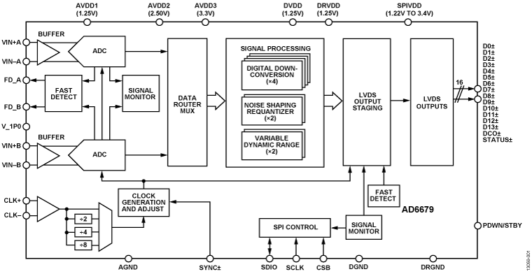
The AD6679 is a 135 MHz bandwidth mixed-signal intermediate frequency (IF) receiver. It consists of two, 14-bit, 500 MSPS analog-to-digital converters (ADCs) and various digital signal processing blocks consisting of four wideband DDCs, an NSR, and VDR monitoring. It has an on-chip buffer and a sample-and-hold circuit designed for low power, small size, and ease of use. This product is designed to support communications applications capable of sampling wide bandwidth analog signals of up to 2 GHz. The AD6679 is optimized for wide input bandwidth, high sampling rates, excellent linearity, and low power in a small package.

The dual ADC cores feature a multistage, differential pipelined architecture with integrated output error correction logic. Each ADC features wide bandwidth inputs supporting a variety of user-selectable input ranges. An integrated voltage reference eases design considerations.

Applications

  • Diversity multiband, multimode digital receivers
    3G/4G, TD-SCDMA, W-CDMA, GSM, LTE, LTE-A 
  • DOCSIS 3.0 CMTS upstream receive paths 
  • HFC digital reverse path receivers 

Subscribe to Welllinkchips !
Your Name
* Email
Submit a request