0
AD5932
  • AD5932
  • AD5932

AD5932

PRODUCTION

Programmable Frequency Scan Waveform Generator

Analog Devices AD5932 Product Info

10 February 2026 7

Features

  • Programmable frequency profile
    • No external components necessary
  • Output frequency up to 25 MHz
  • Preprogrammable frequency profile minimizes number of DSP/microcontroller writes
  • Sinusoidal/triangular/square wave outputs
  • Automatic or single pin control of frequency stepping
  • Power-down mode: 20 μA
  • Power supply: 2.3 V to 5.5 V
  • Automotive temperature range: −40°C to +125°C
  • 16-lead, Pb-free TSSOP

Part details & applications

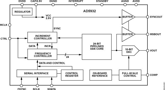
The AD5932 is a waveform generator offering a programmable frequency scan. Utilizing embedded digital processing that allows enhanced frequency control, the device generates synthesized analog or digital frequency-stepped waveforms. Because frequency profiles are preprogrammed, continuous write cycles are eliminated, thereby freeing up valuable DSP/microcontroller resources. Waveforms start from a known phase and are incremented phase-continuously, which allows phase shifts to be easily determined. Consuming only 6.7 mA, the AD5932 provides a convenient low power solution to waveform generation.

The AD5932 outputs each frequency in the range of interest for a defined length of time and then steps to the next frequency in the scan range. The length of time the device outputs a particular frequency is preprogrammed, and the device increments the frequency automatically; or, alternatively, the frequency is incremented externally via the CTRL pin. At the end of the range, the AD5932 continues to output the last frequency until the device is reset. The AD5932 also offers a digital output via the MSBOUT pin.

To program the AD5932, the user enters the start frequency, the increment step size, the number of increments to be made, and the time interval that the part outputs each frequency. The frequency scan profile is initiated, started, and executed by toggling the CTRL pin.

The AD5932 is written to via a 3-wire serial interface that operates at clock rates up to 40 MHz. The device operates with a power supply from 2.3 V to 5.5 V.

Note that the AVDD and DVDD are independent of each other and can be operated from different voltages. The AD5932 also has a standby function that allows sections of the device that are not in use to be powered down.

The AD5932 is available in a 16-lead, Pb-free TSSOP.

Applications

  • Frequency scanning/radar
  • Netwo

Subscribe to Welllinkchips !
Your Name
* Email
Submit a request