0
AD5678
  • AD5678
  • AD5678
  • AD5678

AD5678

PRODUCTION

4 x 12-Bit and 4 × 16-Bit Octal D/A Converter with On-Chip Reference in 14-Lead TSSOP

Analog Devices AD5678 Product Info

10 February 2026 5

Features

  • Low power octal DAC with
    Four 16-bit DACs
    Four 12-bit DACs
  • 14-lead/16-lead TSSOP
  • On-chip 1.25 V/2.5 V, 5 ppm/°C reference
  • Power down to 400 nA @ 5 V, 200 nA @ 3 V
  • 2.7 V to 5.5 V power supply
  • Guaranteed monotonic by design
  • Power-on reset to zero scale
  • 3 power-down functions
  • Hardware LDAC and LDAC override function
  • CLR function to programmable code
  • Rail-to-rail operation

Part details & applications

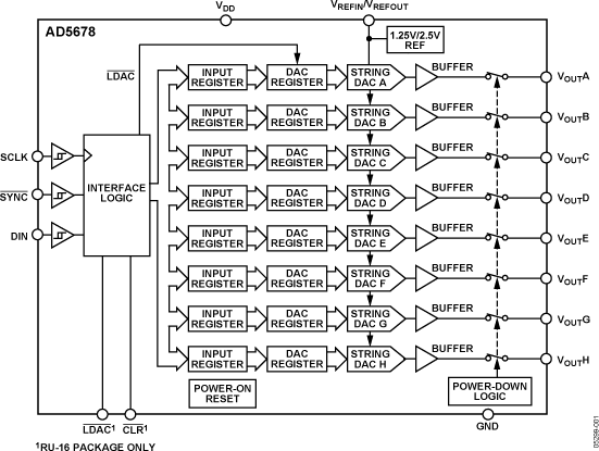
The AD5678 is a low power, octal, buffered voltage-output DAC with four 12-bit DACs and four 16-bit DACs in a single package. All devices operate from a single 2.7 V to 5.5 V supply and are guaranteed monotonic by design.

The AD5678 has an on-chip reference with an internal gain of 2. The AD5678-1 has a 1.25 V 5 ppm/°C reference, giving a full-scale output of 2.5 V; the AD5678-2 has a 2.5 V 5 ppm/°C reference, giving a full-scale output of 5 V. The on-board reference is off at power-up, allowing the use of an external reference. The internal reference is enabled via a software write.

The part incorporates a power-on reset circuit that ensures that the DAC output powers up to 0 V and remains powered up at this level until a valid write takes place. The part contains a power-down feature that reduces the current consumption of the device to 400 nA at 5 V and provides software-selectable output loads while in power-down mode for any or all DAC channels.

The outputs of all DACs can be updated simultaneously using the LDAC function, with the added functionality of user-selectable DAC channels to simultaneously update. There is also an asynchronous CLR that clears all DACs to a software-selectable code—0 V, midscale, or full scale.

The AD5678 utilizes a versatile 3-wire serial interface that operates at clock rates of up to 50 MHz and is compatible with standard SPI®, QSPI, MICROWIRE, and DSP interface standards. The on-chip precision output amplifier enables rail-to-rail output swing.

PRODUCT HIGHLIGHTS

  1. Octal DAC (four 12-bit DACs and four 16-bit DACs).
  2. On-chip 1.25 V/2.5 V, 5 ppm/°C reference.
  3. Available in 14-lead/16-lead TSSOP.
  4. Power-on reset to 0 V.
  5. Power-down capability. W

Subscribe to Welllinkchips !
Your Name
* Email
Submit a request