0
TPS1HB16-Q1
  • TPS1HB16-Q1
  • TPS1HB16-Q1
  • TPS1HB16-Q1

TPS1HB16-Q1

ACTIVE

40-V, 16-mΩ, 1-ch automotive smart high-side switch with adjustable current limit

Texas Instruments TPS1HB16-Q1 Product Info

1 April 2026 0

Parameters

Number of channels

1

Rating

Automotive

Operating voltage (max) (V)

18

Operating voltage (min) (V)

6

Ron (typ) (mΩ)

16

Imax (A)

7

Current limit (max) (A)

49

Current limit (min) (A)

4.4

Current limit type

Adjustable

FET

Internal

Features

Current sense output, Current sense/monitor, Programmable current limit, Thermal shutdown, Under voltage lock out

TI functional safety category

Functional Safety-Capable

Current limit accuracy

+25%/-25%

Current sense accuracy

+4/-4% @ 1A

Operating temperature range (°C)

-40 to 125

Function

Adjustable current limit, Automotive load dump compatibility, Current monitoring, Inductive load compatibility, Inrush current control, Short circuit protection, Thermal shutdown

Package

HTSSOP (PWP)-16-32 mm² 5 x 6.4

Features

  • AEC-Q100 qualified for automotive applications
    • Temperature grade 1: –40°C to 125°C
    • Device HBM ESD classification level 2
    • Device CDM ESD classification level C4B
    • Withstands 40-V load dump
  • Functional Safety-Capable
  • Single-channel smart high-side switch with 16-mΩ RON (TJ = 25°C)
  • Improve system level reliability through adjustable current limiting
    • Current limit set-point from 4.4 A to 49 A
  • Robust integrated output protection:
    • Integrated thermal protection
    • Protection against short to ground and battery
    • Protection against reverse battery events including automatic switch on of FET with reverse voltage
    • Automatic shut off on loss of battery and ground
    • Integrated output clamp to demagnetize inductive loads
    • Configurable fault handling
  • Analog sense output can be configured to accurately measure:
    • Load current
    • Device temperature
  • Provides fault indication through SNS pin
    • Detection of open load and short-to-battery
  • AEC-Q100 qualified for automotive applications
    • Temperature grade 1: –40°C to 125°C
    • Device HBM ESD classification level 2
    • Device CDM ESD classification level C4B
    • Withstands 40-V load dump
  • Functional Safety-Capable
  • Single-channel smart high-side switch with 16-mΩ RON (TJ = 25°C)
  • Improve system level reliability through adjustable current limiting
    • Current limit set-point from 4.4 A to 49 A
  • Robust integrated output protection:
    • Integrated thermal protection
    • Protection against short to ground and battery
    • Protection against reverse battery events including automatic switch on of FET with reverse voltage
    • Automatic shut off on loss of battery and ground
    • Integrated output clamp to demagnetize inductive loads
    • Configurable fault handling
  • Analog sense output can be configured to accurately measure:
    • Load current
    • Device temperature
  • Provides fault indication through SNS pin
    • Detection of open load and short-to-battery

Description

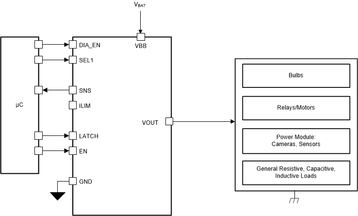
The TPS1HB16-Q1 device is a smart high-side switch intended for use in 12-V automotive systems. The device integrates robust protection and diagnostic features to ensure output port protection even during harmful events like short circuits in automotive systems. The device protects against faults through a reliable current limit, which, depending on device variant, is adjustable from 4.4 A to 49 A. The high current limit range allows for usage in loads that require large transient currents, while the low current limit range provides improved protection for loads that do not require high peak current. The device is capable of reliably driving a wide range of load profiles.

The TPS1HB16-Q1 also provides a high accuracy analog current sense that allows for improved load diagnostics. By reporting load current and device temperature to a system MCU, the device enables predictive maintenance and load diagnostics that improves the system lifetime.

The TPS1HB16-Q1 is available in a HTSSOP package which allows for reduced PCB footprint.

The TPS1HB16-Q1 device is a smart high-side switch intended for use in 12-V automotive systems. The device integrates robust protection and diagnostic features to ensure output port protection even during harmful events like short circuits in automotive systems. The device protects against faults through a reliable current limit, which, depending on device variant, is adjustable from 4.4 A to 49 A. The high current limit range allows for usage in loads that require large transient currents, while the low current limit range provides improved protection for loads that do not require high peak current. The device is capable of reliably driving a wide range of load profiles.

The TPS1HB16-Q1 also provides a high accuracy analog current sense that allows for improved load diagnostics. By reporting load current and device temperature to a system MCU, the device enables predictive maintenance and load diagnostics that improves the system lifetime.

The TPS1HB16-Q1 is available in a HTSSOP package which allows for reduced PCB footprint.

Subscribe to Welllinkchips !
Your Name
* Email
Submit a request