0
TAS5805M
  • TAS5805M
  • TAS5805M
  • TAS5805M

TAS5805M

ACTIVE

23-W stereo, 45-W mono, 4.5- to 26.4-V supply, digital input Class-D audio amplifier w/ processing

Texas Instruments TAS5805M Product Info

1 April 2026 1

Parameters

Audio input type

Digital Input

Architecture

Class-D

Speaker channels (max)

Stereo

Control interface

I2C

Output power (W)

23

Power stage supply (max) (V)

26.4

Power stage supply (min) (V)

4.5

RDS(on) (Ω)

0.09

THD + N at 1 kHz (%)

0.03

Load (min) (Ω)

4

Analog supply voltage (min) (V)

4.5

Analog supply voltage (max) (V)

26.4

Rating

Catalog

Operating temperature range (°C)

-25 to 85

Package

HTSSOP (PWP)-28-62.08 mm² 9.7 x 6.4

Features

  • Supports Multiple Output Configurations
    • 2 × 23 W in 2.0 Mode (8-Ω, 21 V, THD+N=1%)
    • 45 W in Mono Mode (4-Ω, 21 V, THD+N=1%)
  • Excellent Audio Performance
    • THD+N ≤ 0.03% at 1 W, 1 kHz, PVDD = 12 V
    • SNR ≥ 107 dB (A-weighted), Noise Level < 40 µVRMS
  • Low Quiescent Current with Hybrid Modulation
    • 16.5 mA at PVDD = 13.5 V , 22 µH + 0.68 µF Filter
  • Flexible Power Supply Configurations
    • PVDD: 4.5 V to 26.4 V
    • DVDD and I/O: 1.8 V or 3.3 V
  • Flexible Audio I/O
    • I2S, LJ, RJ, TDM, 3-Wire Digital Audio Interface (No MCLK Required)
    • Supports 32, 44.1, 48, 88.2, 96 kHz Sample Rates
    • SDOUT for Audio Monitoring, Sub-Channel or Echo Cancellation
  • Enhanced Audio Processing
    • Multi-Band Advanced DRC and AGL
    • 2×15 BQs
    • Thermal Foldback, DC Blocking
    • Input Mixer, Output Crossbar
    • Level Meter
    • 5 BQs + 1 Band DRC +THD Manager for the Subwoofer Channel
    • Sound Field Spatializer option
  • Integrated Self-Protection
    • Adjacent Pin to Pin Short Without Damage
    • Over-Current Error (OCE)
    • Over-Temperature Warning (OTW)
    • Over-Temperature Error (OTE)
    • Under/Over-Voltage Lock-out (UVLO/OVLO)
  • Easy System Integration
    • I2C Software Control
    • Reduced Solution Size
      • Fewer Passives Required Compared to Open-Loop Devices
      • Inductor-less Operation (Ferrite Bead) for most cases where PVDD ≤ 14V
  • Supports Multiple Output Configurations
    • 2 × 23 W in 2.0 Mode (8-Ω, 21 V, THD+N=1%)
    • 45 W in Mono Mode (4-Ω, 21 V, THD+N=1%)
  • Excellent Audio Performance
    • THD+N ≤ 0.03% at 1 W, 1 kHz, PVDD = 12 V
    • SNR ≥ 107 dB (A-weighted), Noise Level < 40 µVRMS
  • Low Quiescent Current with Hybrid Modulation
    • 16.5 mA at PVDD = 13.5 V , 22 µH + 0.68 µF Filter
  • Flexible Power Supply Configurations
    • PVDD: 4.5 V to 26.4 V
    • DVDD and I/O: 1.8 V or 3.3 V
  • Flexible Audio I/O
    • I2S, LJ, RJ, TDM, 3-Wire Digital Audio Interface (No MCLK Required)
    • Supports 32, 44.1, 48, 88.2, 96 kHz Sample Rates
    • SDOUT for Audio Monitoring, Sub-Channel or Echo Cancellation
  • Enhanced Audio Processing
    • Multi-Band Advanced DRC and AGL
    • 2×15 BQs
    • Thermal Foldback, DC Blocking
    • Input Mixer, Output Crossbar
    • Level Meter
    • 5 BQs + 1 Band DRC +THD Manager for the Subwoofer Channel
    • Sound Field Spatializer option
  • Integrated Self-Protection
    • Adjacent Pin to Pin Short Without Damage
    • Over-Current Error (OCE)
    • Over-Temperature Warning (OTW)
    • Over-Temperature Error (OTE)
    • Under/Over-Voltage Lock-out (UVLO/OVLO)
  • Easy System Integration
    • I2C Software Control
    • Reduced Solution Size
      • Fewer Passives Required Compared to Open-Loop Devices
      • Inductor-less Operation (Ferrite Bead) for most cases where PVDD ≤ 14V

Description

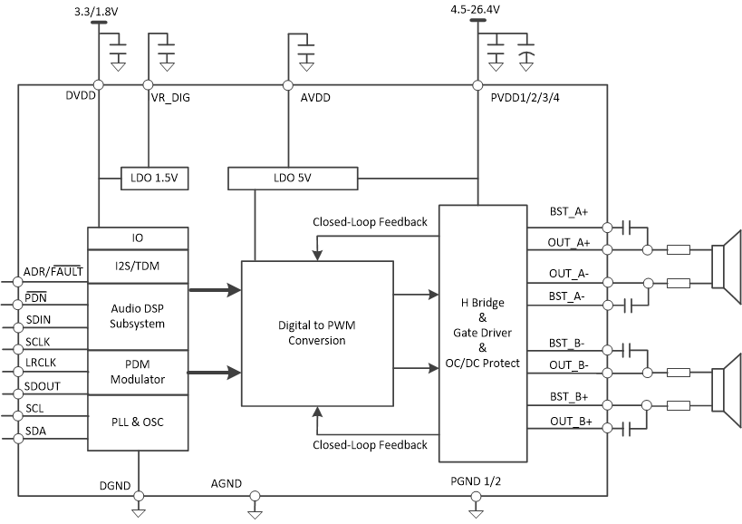
The TAS5805M is a high-efficiency, stereo, closed-loop Class-D amplifier offering a cost-effective digital-input solution with low power dissipation and sound enrichment. The device’s integrated audio processor and 96 kHz architecture support advanced audio process flow, including SRC, 15 BQs per channel, volume control, audio mixing, 3-band 4th order DRC, full-band AGL, THD manager and level meter.

Featuring TI’s proprietary Hybrid Modulation scheme, the TAS5805M consumes very-low quiescent current (16.5 mA at 13.5 V PVDD), extending battery life in portable audio applications. With advanced EMI suppression technology, designers can leverage inexpensive ferrite bead filters to reduce board space and system cost.

The TAS5805M is a high-efficiency, stereo, closed-loop Class-D amplifier offering a cost-effective digital-input solution with low power dissipation and sound enrichment. The device’s integrated audio processor and 96 kHz architecture support advanced audio process flow, including SRC, 15 BQs per channel, volume control, audio mixing, 3-band 4th order DRC, full-band AGL, THD manager and level meter.

Featuring TI’s proprietary Hybrid Modulation scheme, the TAS5805M consumes very-low quiescent current (16.5 mA at 13.5 V PVDD), extending battery life in portable audio applications. With advanced EMI suppression technology, designers can leverage inexpensive ferrite bead filters to reduce board space and system cost.

Subscribe to Welllinkchips !
Your Name
* Email
Submit a request