0
SN74CB3T3257
  • SN74CB3T3257
  • SN74CB3T3257
  • SN74CB3T3257
  • SN74CB3T3257
  • SN74CB3T3257
  • SN74CB3T3257

SN74CB3T3257

ACTIVE

3.3-V, 2:1 (SPDT), 4-channel FET bus switch with level shifter

Texas Instruments SN74CB3T3257 Product Info

1 April 2026 0

Parameters

Protocols

Analog, I2C, I2S, JTAG, RGMII, SPI, TDM, UART

Configuration

2:1 SPDT

Number of channels

4

Bandwidth (MHz)

100

Supply voltage (max) (V)

3.6

Ron (typ) (mΩ)

5000

Input/output voltage (min) (V)

0

Input/output voltage (max) (V)

5.5

Operating temperature range (°C)

-40 to 85

ESD CDM (kV)

1

Input/output continuous current (max) (mA)

128

COFF (typ) (pF)

5

CON (typ) (pF)

4

OFF-state leakage current (max) (µA)

10

Ron (max) (mΩ)

8000

VIH (min) (V)

1.7

VIL (max) (V)

0.8

Rating

Catalog

Package

SOT-23-THN (DYY)-16-8.4 mm² 4.2 x 2

Features

  • Output voltage translation tracks VCC
  • Supports mixed-mode signal operation on all data I/O ports
    • 5V input down to 3.3V output level shift with 3.3V VCC
    • 5V/3.3V input down to 2.5V output level shift with 2.5V VCC
  • 5V-tolerant I/Os with device powered up or powered down
  • Bidirectional data flow with near-zero propagation delay
  • Low ON-state resistance (ron) characteristics (ron = 5Ω typ)
  • Low input/output capacitance minimizes loading (Cio(OFF) = 5pF typ)
  • Data and control inputs provide undershoot clamp diodes
  • Low power consumption (ICC = 20µA max)
  • VCC operating range from 2.3V to 3.6V
  • Data I/Os support 0V to 5V signaling levels (0.8V, 1.2V, 1.5V, 1.8V, 2.5V, 3.3V, 5V)
  • Control inputs can be driven by TTL or 5V/3.3V CMOS outputs
  • Ioff supports partial-power-down mode operation
  • Latch-up performance exceeds 250mA per JESD 17
  • ESD performance tested per JESD 22
    • 2000V human-body model (A114B, Class II)
    • 1000V charged-device model (C101)
  • Output voltage translation tracks VCC
  • Supports mixed-mode signal operation on all data I/O ports
    • 5V input down to 3.3V output level shift with 3.3V VCC
    • 5V/3.3V input down to 2.5V output level shift with 2.5V VCC
  • 5V-tolerant I/Os with device powered up or powered down
  • Bidirectional data flow with near-zero propagation delay
  • Low ON-state resistance (ron) characteristics (ron = 5Ω typ)
  • Low input/output capacitance minimizes loading (Cio(OFF) = 5pF typ)
  • Data and control inputs provide undershoot clamp diodes
  • Low power consumption (ICC = 20µA max)
  • VCC operating range from 2.3V to 3.6V
  • Data I/Os support 0V to 5V signaling levels (0.8V, 1.2V, 1.5V, 1.8V, 2.5V, 3.3V, 5V)
  • Control inputs can be driven by TTL or 5V/3.3V CMOS outputs
  • Ioff supports partial-power-down mode operation
  • Latch-up performance exceeds 250mA per JESD 17
  • ESD performance tested per JESD 22
    • 2000V human-body model (A114B, Class II)
    • 1000V charged-device model (C101)

Description

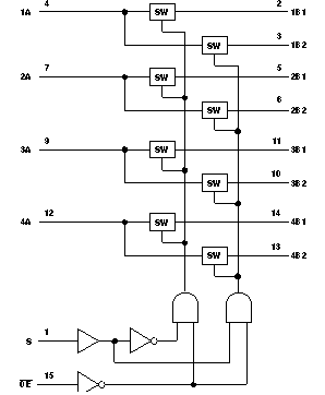
The SN74CB3T3257 is a high-speed TTL-compatible FET multiplexer/demultiplexer with low ON-state resistance (ron), allowing for minimal propagation delay. The device fully supports mixed-mode signal operation on all data I/O ports by providing voltage translation that tracks VCC. The SN74CB3T3257 supports systems using 5V TTL, 3.3V LVTTL, and 2.5V CMOS switching standards, as well as user-defined switching levels.

This device is fully specified for partial-power-down applications using Ioff. The Ioff feature verifies that damaging current does not backflow through the device when the device is powered down. The device has isolation during power off.

The SN74CB3T3257 is a high-speed TTL-compatible FET multiplexer/demultiplexer with low ON-state resistance (ron), allowing for minimal propagation delay. The device fully supports mixed-mode signal operation on all data I/O ports by providing voltage translation that tracks VCC. The SN74CB3T3257 supports systems using 5V TTL, 3.3V LVTTL, and 2.5V CMOS switching standards, as well as user-defined switching levels.

This device is fully specified for partial-power-down applications using Ioff. The Ioff feature verifies that damaging current does not backflow through the device when the device is powered down. The device has isolation during power off.

Subscribe to Welllinkchips !
Your Name
* Email
Submit a request