0
SN65HVS880
  • SN65HVS880
  • SN65HVS880

SN65HVS880

ACTIVE

30-V, 8-channel digital-input serializer for 5-V systems

Texas Instruments SN65HVS880 Product Info

1 April 2026 1

Parameters

Number of input channels

8

Operating voltage (min) (V)

18

Operating voltage (max) (V)

34

Input/output voltage (max) (V)

36

Input/output voltage (min) (V)

-0.3

IO current (mA)

0.2 to 5.2

Operating temperature range (°C)

-40 to 85

Interface type

SPI

Features

Overtemperature, Voltage monitoring

Diagnostics

Overtemperature diagnostics, Voltage monitoring diagnostics

Logic voltage (min) (V)

2

Logic voltage (max) (V)

0.8

Rating

Catalog

Package

HTSSOP (PWP)-28-62.08 mm² 9.7 x 6.4

Features

  • Eight Sensor Inputs
    • High Input Voltage up to 30 V
    • Selectable Debounce Filters From 0 ms to 3 ms
    • Adjustable Current Limits From 0.2 mA to 5.2 mA
    • Field Inputs and Supply Lines Protected to 15-kV HBM
  • Output Drivers for External Status LEDs
  • Cascadable for More Inputs in Multiples of Eight
  • SPI-Compatible Interface
  • Regulated 5-V Output for External Digital Isolator
  • Over-Temperature and Low-Supply Voltage Indicator
  • APPLICATIONS
    • Sensor Inputs for Industrial Automation and Process Control
      • IEC61131-2 Type 1, 2, or 3 Switches
      • EN60947-5-2 Proximity Switches
    • High Channel Count Digital Input Modules for PC and PLC Systems
    • Decentralized I/O Modules

PowerPAD Is a trademark of Texas Instruments

  • Eight Sensor Inputs
    • High Input Voltage up to 30 V
    • Selectable Debounce Filters From 0 ms to 3 ms
    • Adjustable Current Limits From 0.2 mA to 5.2 mA
    • Field Inputs and Supply Lines Protected to 15-kV HBM
  • Output Drivers for External Status LEDs
  • Cascadable for More Inputs in Multiples of Eight
  • SPI-Compatible Interface
  • Regulated 5-V Output for External Digital Isolator
  • Over-Temperature and Low-Supply Voltage Indicator
  • APPLICATIONS
    • Sensor Inputs for Industrial Automation and Process Control
      • IEC61131-2 Type 1, 2, or 3 Switches
      • EN60947-5-2 Proximity Switches
    • High Channel Count Digital Input Modules for PC and PLC Systems
    • Decentralized I/O Modules

PowerPAD Is a trademark of Texas Instruments

Description

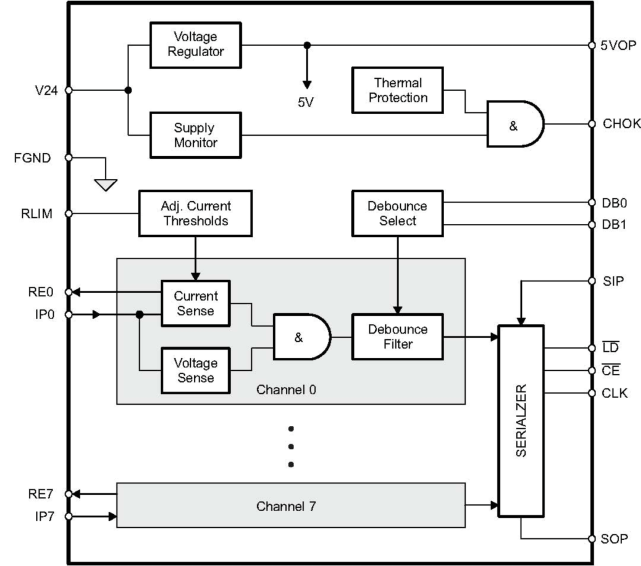
The SN65HVS880 is a 24-V, eight-channel, digital-input serializer for high-channel density digital input modules of PC and PLC based systems in industrial automation. In combination with galvanic isolators the device completes the interface between the 24-V sensor outputs of the field-side and the low-voltage controller inputs at the control-side. Input signals provided by EN60947-5-2 compliant 2- and 3-wire proximity switches are current-limited and then validated by internal debounce filters. The input switching characteristic is in accordance with IEC61131-2 for Type 1, 2, and 3 sensor switches.

Upon the application of load and clock signals, input data is latched in parallel into the shift register and afterwards clocked out serially via a subsequent isolator into a serial PLC input.

Cascading of multiple SN65HVS880 is possible by connecting the serial output of the leading device with the serial input of the following device, enabling the design of high-channel count input modules. Input status is indicated via 3-mA constant current LED outputs. An external precision resistor is required to set the internal reference current. The integrated voltage regulator provides a 5-V output to supply low-power isolators. An on-chip temperature sensor together with an internal supply voltage monitor provides a chip-okay (CHOK) indication.

The SN65HVS880 comes in a 28-pin PWP PowerPAD package allowing for efficient heat dissipation. The device is specified for operation at temperatures from -40°C to 85°C.

The SN65HVS880 is a 24-V, eight-channel, digital-input serializer for high-channel density digital input modules of PC and PLC based systems in industrial automation. In combination with galvanic isolators the device completes the interface between the 24-V sensor outputs of the field-side and the low-voltage controller inputs at the control-side. Input signals provided by EN60947-5-2 compliant 2- and 3-wire proximity switches are current-limited and then validated by internal debounce filters. The input switching characteristic is in accordance with IEC61131-2 for Type 1, 2, and 3 sensor switches.

Upon the application of load and clock signals, input data is latched in parallel into the shift register and afterwards clocked out serially via a subsequent isolator into a serial PLC input.

Cascading of multiple SN65HVS880 is possible by connecting the serial output of the leading device with the serial input of the following device, enabling the design of high-channel count input modules. Input status is indicated via 3-mA constant current LED outputs. An external precision resistor is required to set the internal reference current. The integrated voltage regulator provides a 5-V output to supply low-power isolators. An on-chip temperature sensor together with an internal supply voltage monitor provides a chip-okay (CHOK) indication.

The SN65HVS880 comes in a 28-pin PWP PowerPAD package allowing for efficient heat dissipation. The device is specified for operation at temperatures from -40°C to 85°C.

Subscribe to Welllinkchips !
Your Name
* Email
Submit a request