0
LMX2487E
  • LMX2487E
  • LMX2487E
  • LMX2487E

LMX2487E

ACTIVE

3-GHz to 7.5-GHz delta-sigma low power dual PLL for RF personal communications

Texas Instruments LMX2487E Product Info

1 April 2026 0

Parameters

Frequency (max) (MHz)

7500

Frequency (min) (MHz)

3000

Normalized PLL phase noise (dBc/Hz)

-210

1/f noise (10-kHz offset at 1-GHz carrier) (dBc/Hz)

-104

Features

Advanced delta-sigma fractional compensation, Cycle slip reduction, Dual PLL, Fastlock, Integrated timeout counter, On-chip input frequency doubler

Current consumption (mA)

5.7

Integrated VCO

No

Operating temperature range (°C)

-40 to 85

Rating

Catalog

Lock time (µs) (typ) (s)

Loop BW dependent

Package

WQFN (RTW)-24-16 mm² 4 x 4

Features

  • Quadruple Modulus Prescaler for Lower Divids
    • RF PLL: 16/17/20/21 or 32/33/36/37
    • IF PLL: 8/9 or 16/17
  • Advanced Delta Sigma Fractional Compensation
    • 12-Bit or 22-Bit Selectable Fractional Modulus
    • Up to 4th Order Programmable Delta-Sigma
      Modulator
  • Features for Improved Lock Time
    • Fastlock / Cycle Slip Reduction that Requires
      Single-Word Write
    • Integrated Time-Out Counter
  • Wide Operating Range
    • LMX2487E RF PLL: 3.0 GHz to 7.5 GHz
  • Useful Features
    • Digital Lock Detect Output
    • Hardware and Software Power-Down Control
    • On-Chip Crystal Reference Frequency Doubler
    • RF Phase Comparison Frequency Up to 50
      MHz
    • 2.5-V to 3.6-V Operation With ICC = 8.5 mA
      at 3.0 V
  • Quadruple Modulus Prescaler for Lower Divids
    • RF PLL: 16/17/20/21 or 32/33/36/37
    • IF PLL: 8/9 or 16/17
  • Advanced Delta Sigma Fractional Compensation
    • 12-Bit or 22-Bit Selectable Fractional Modulus
    • Up to 4th Order Programmable Delta-Sigma
      Modulator
  • Features for Improved Lock Time
    • Fastlock / Cycle Slip Reduction that Requires
      Single-Word Write
    • Integrated Time-Out Counter
  • Wide Operating Range
    • LMX2487E RF PLL: 3.0 GHz to 7.5 GHz
  • Useful Features
    • Digital Lock Detect Output
    • Hardware and Software Power-Down Control
    • On-Chip Crystal Reference Frequency Doubler
    • RF Phase Comparison Frequency Up to 50
      MHz
    • 2.5-V to 3.6-V Operation With ICC = 8.5 mA
      at 3.0 V

Description

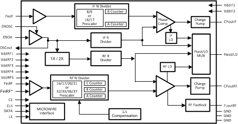
The LMX2487E device is a low power, high performance delta-sigma fractional-N PLL with an auxiliary integer-N PLL. It is fabricated using TI’s advanced process.

With delta-sigma architecture, fractional spurs at lower offset frequencies are pushed to higher frequencies outside the loop bandwidth. The ability to push close in spur and phase noise energy to higher frequencies is a direct function of the modulator order. Unlike analog compensation, the digital feedback technique used in the LMX2487E is highly resistant to changes in temperature and variations in wafer processing. The LMX2487E delta-sigma modulator is programmable up to fourth order, which allows the designer to select the optimum modulator order to fit the phase noise, spur, and lock time requirements of the system.

Serial data for programming the LMX2487E is transferred through a three-line, high-speed (20-MHz) MICROWIRE interface. The LMX2487E offers fine frequency resolution, low spurs, fast programming speed, and a single-word write to change the frequency. This makes it ideal for direct digital modulation applications, where the N-counter is directly modulated with information. The LMX2487E is available in a 24-lead 4.0 × 4.0 × 0.8 mm WQFN package.

The LMX2487E device is a low power, high performance delta-sigma fractional-N PLL with an auxiliary integer-N PLL. It is fabricated using TI’s advanced process.

With delta-sigma architecture, fractional spurs at lower offset frequencies are pushed to higher frequencies outside the loop bandwidth. The ability to push close in spur and phase noise energy to higher frequencies is a direct function of the modulator order. Unlike analog compensation, the digital feedback technique used in the LMX2487E is highly resistant to changes in temperature and variations in wafer processing. The LMX2487E delta-sigma modulator is programmable up to fourth order, which allows the designer to select the optimum modulator order to fit the phase noise, spur, and lock time requirements of the system.

Serial data for programming the LMX2487E is transferred through a three-line, high-speed (20-MHz) MICROWIRE interface. The LMX2487E offers fine frequency resolution, low spurs, fast programming speed, and a single-word write to change the frequency. This makes it ideal for direct digital modulation applications, where the N-counter is directly modulated with information. The LMX2487E is available in a 24-lead 4.0 × 4.0 × 0.8 mm WQFN package.

Subscribe to Welllinkchips !
Your Name
* Email
Submit a request