0
LM96000
  • LM96000
  • LM96000
  • LM96000
  • LM96000

LM96000

ACTIVE

Hardware monitor with fan control and 6 power supply voltage monitors Key Specifications Key Specifications

Texas Instruments LM96000 Product Info

1 April 2026 0

Parameters

Local sensor accuracy (max)

3

Type

Fan Controller

Operating temperature range (°C)

0 to 125

Supply voltage (min) (V)

3

Interface type

SMBus

Supply voltage (max) (V)

3.6

Features

PWM output, Tachometer

Supply current (max) (µA)

530

Temp resolution (max) (bps)

8

Remote channels (#)

2

Addresses

3

Rating

Catalog

Package

TSSOP (PW)-24-49.92 mm² 7.8 x 6.4

Features

  • 2-wire, SMBus 2.0 Compliant, Serial Digital Interface
  • 8-bit ΣΔ ADC
  • Monitors VCCP, 2.5V, 3.3 VSBY, 5.0V, and 12V Motherboard/processor Supplies
  • Monitors 2 Remote Thermal Diodes
  • Programmable Autonomous Fan Control Based on Temperature Readings
  • Noise Filtering of Temperature Reading for Fan Control
  • 1.0°C Digital Temperature Sensor Resolution
  • 3 PWM Fan Speed Control Outputs
  • Provides High and Low PWM Frequency Ranges
  • 4 Fan Tachometer Inputs
  • Monitors 5 VID Control Lines
  • 24-pin TSSOP Package
  • XOR-tree Test Mode

Key Specifications

  • Voltage Measurement Accuracy ±2% FS (max)
  • Resolution 8-bits, 1°C
  • Temperature Sensor Accuracy ±3°C (max)
  • Temperature Range
    • LM96000 Operational 0°C to +85°C
    • Remote Temp Accuracy 0°C to +125°C
  • Power Supply Voltage +3.0V to +3.6V
  • Power Supply Current 0.53 mA

All trademarks are the property of their respective owners.

  • 2-wire, SMBus 2.0 Compliant, Serial Digital Interface
  • 8-bit ΣΔ ADC
  • Monitors VCCP, 2.5V, 3.3 VSBY, 5.0V, and 12V Motherboard/processor Supplies
  • Monitors 2 Remote Thermal Diodes
  • Programmable Autonomous Fan Control Based on Temperature Readings
  • Noise Filtering of Temperature Reading for Fan Control
  • 1.0°C Digital Temperature Sensor Resolution
  • 3 PWM Fan Speed Control Outputs
  • Provides High and Low PWM Frequency Ranges
  • 4 Fan Tachometer Inputs
  • Monitors 5 VID Control Lines
  • 24-pin TSSOP Package
  • XOR-tree Test Mode

Key Specifications

  • Voltage Measurement Accuracy ±2% FS (max)
  • Resolution 8-bits, 1°C
  • Temperature Sensor Accuracy ±3°C (max)
  • Temperature Range
    • LM96000 Operational 0°C to +85°C
    • Remote Temp Accuracy 0°C to +125°C
  • Power Supply Voltage +3.0V to +3.6V
  • Power Supply Current 0.53 mA

All trademarks are the property of their respective owners.

Description

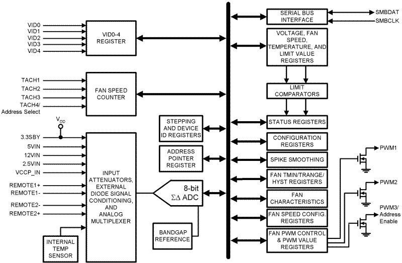
The LM96000, hardware monitor, has a two wire digital interface compatible with SMBus 2.0. Using an 8-bit ΣΔ ADC, the LM96000 measures:

  • the temperature of two remote diode connected transistors as well as its own die
  • the VCCP, 2.5V, 3.3VSBY, 5.0V, and 12V supplies (internal scaling resistors).

To set fan speed, the LM96000 has three PWM outputs that are each controlled by one of three temperature zones. High and low PWM frequency ranges are supported. The LM96000 includes a digital filter that can be invoked to smooth temperature readings for better control of fan speed. The LM96000 has four tachometer inputs to measure fan speed. Limit and status registers for all measured values are included.

The LM96000, hardware monitor, has a two wire digital interface compatible with SMBus 2.0. Using an 8-bit ΣΔ ADC, the LM96000 measures:

  • the temperature of two remote diode connected transistors as well as its own die
  • the VCCP, 2.5V, 3.3VSBY, 5.0V, and 12V supplies (internal scaling resistors).

To set fan speed, the LM96000 has three PWM outputs that are each controlled by one of three temperature zones. High and low PWM frequency ranges are supported. The LM96000 includes a digital filter that can be invoked to smooth temperature readings for better control of fan speed. The LM96000 has four tachometer inputs to measure fan speed. Limit and status registers for all measured values are included.

Subscribe to Welllinkchips !
Your Name
* Email
Submit a request