0
LM95233
  • LM95233
  • LM95233
  • LM95233
  • LM95233

LM95233

ACTIVE

±2°C Dual Remote and Local Temperature Sensor with TruTherm Technology and SMBus Interface Key Specifications Key Specifications

Texas Instruments LM95233 Product Info

1 April 2026 0

Parameters

Local sensor accuracy (max)

2

Type

Remote

Operating temperature range (°C)

-40 to 140

Supply voltage (min) (V)

3

Interface type

I2C, SMBus

Supply voltage (max) (V)

3.6

Features

ALERT, One-shot conversion

Supply current (max) (µA)

500

Temp resolution (max) (bps)

11

Remote channels (#)

2

Addresses

3

Rating

Catalog

Package

WSON (NHL)-14-16 mm² 4 x 4

Features

  • Accurately Senses Die Temperature of 2 Remote ICs or Diode Junctions and Local Temperature
  • TruTherm BJT Beta Compensation Technology Accurately Senses Sub-Micron Process Thermal Diodes
  • 0.125°C LSb Temperature Resolution
  • 0.03125°C LSb Remote Temperature Resolution with Digital Filter Enabled
  • +127.875°C/–128°C and 0°C/255°C Remote Ranges
  • Programmable Digital Filters and Analog Front End Filter
  • Remote Diode Fault Detection, Model Selection and Offset Correction
  • Mask and Status Register Support
  • 3 Programmable TCRIT Outputs with Programmable Shared Hysteresis
  • Programmable Conversion Rate and Shutdown Mode One-Shot Conversion Control
  • SMBus 2.0 Compatible Interface, Supports TIMEOUT
  • Three-Level Address Pin
  • 14-Pin WSON Package

Key Specifications

  • Local Temperature Accuracy: ±2.0 °C (max)
  • Remote Diode Temperature Accuracy: ±0.875 °C (max)
  • Supply Voltage: 3.0 to 3.6 V
  • Average Supply Current (1Hz conversion rate): 0.57 mA (typ)

TruTherm is a trademark of Texas Instruments. All trademarks are the property of their respective owners.

  • Accurately Senses Die Temperature of 2 Remote ICs or Diode Junctions and Local Temperature
  • TruTherm BJT Beta Compensation Technology Accurately Senses Sub-Micron Process Thermal Diodes
  • 0.125°C LSb Temperature Resolution
  • 0.03125°C LSb Remote Temperature Resolution with Digital Filter Enabled
  • +127.875°C/–128°C and 0°C/255°C Remote Ranges
  • Programmable Digital Filters and Analog Front End Filter
  • Remote Diode Fault Detection, Model Selection and Offset Correction
  • Mask and Status Register Support
  • 3 Programmable TCRIT Outputs with Programmable Shared Hysteresis
  • Programmable Conversion Rate and Shutdown Mode One-Shot Conversion Control
  • SMBus 2.0 Compatible Interface, Supports TIMEOUT
  • Three-Level Address Pin
  • 14-Pin WSON Package

Key Specifications

  • Local Temperature Accuracy: ±2.0 °C (max)
  • Remote Diode Temperature Accuracy: ±0.875 °C (max)
  • Supply Voltage: 3.0 to 3.6 V
  • Average Supply Current (1Hz conversion rate): 0.57 mA (typ)

TruTherm is a trademark of Texas Instruments. All trademarks are the property of their respective owners.

Description

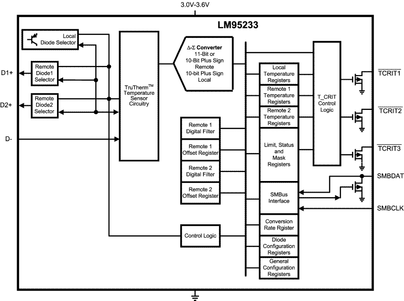
LM95233 is an 11-bit digital temperature sensor with a 2-wire System Management Bus (SMBus) interface that can monitor the temperature of two remote diodes as well as its own temperature. The LM95233 can be used to very accurately monitor the temperature of up to two external devices such as microprocessors, graphics processors or diode-connected 2N3904s. The LM95233's TruTherm BJT beta compensation technology allows sensing of 90nm or 65nm process thermal diodes accurately.

The LM95233 reports temperature in two different formats for +127.875°C/–128°C range and 0°C/255°C range. The LM95233 TCRIT1, TCRIT2 and TCRIT3 outputs are triggered when any unmasked channel exceeds its corresponding programmable limit and can be used to shutdown the system, to turn on the system fans or as a microcontroller interrupt function. The current status of the TCRIT1, TCRIT2 and TCRIT3 pins can be read back from the status registers. Mask registers are available for further control of the TCRIT outputs. LM95233's remote temperature channels have programmable digital filters to minimize unwanted TCRIT events when temperature spikes are encountered.

For optimum flexibility and accuracy each LM95233 channel includes, registers for sub-micron process or 2N3904 diode model selection as well as offset correction. A three level address pin allows connection of up to 3 LM95233s to the same SMBus master. The LM95233 includes power saving functions such as: programmable conversion rate, shutdown mode, and turn off of unused channels.

LM95233 is an 11-bit digital temperature sensor with a 2-wire System Management Bus (SMBus) interface that can monitor the temperature of two remote diodes as well as its own temperature. The LM95233 can be used to very accurately monitor the temperature of up to two external devices such as microprocessors, graphics processors or diode-connected 2N3904s. The LM95233's TruTherm BJT beta compensation technology allows sensing of 90nm or 65nm process thermal diodes accurately.

The LM95233 reports temperature in two different formats for +127.875°C/–128°C range and 0°C/255°C range. The LM95233 TCRIT1, TCRIT2 and TCRIT3 outputs are triggered when any unmasked channel exceeds its corresponding programmable limit and can be used to shutdown the system, to turn on the system fans or as a microcontroller interrupt function. The current status of the TCRIT1, TCRIT2 and TCRIT3 pins can be read back from the status registers. Mask registers are available for further control of the TCRIT outputs. LM95233's remote temperature channels have programmable digital filters to minimize unwanted TCRIT events when temperature spikes are encountered.

For optimum flexibility and accuracy each LM95233 channel includes, registers for sub-micron process or 2N3904 diode model selection as well as offset correction. A three level address pin allows connection of up to 3 LM95233s to the same SMBus master. The LM95233 includes power saving functions such as: programmable conversion rate, shutdown mode, and turn off of unused channels.

Subscribe to Welllinkchips !
Your Name
* Email
Submit a request