0
LM95071
  • LM95071
  • LM95071
  • LM95071
  • LM95071

LM95071

ACTIVE

±1°C Temperature Sensor with SPI Interface

Texas Instruments LM95071 Product Info

1 April 2026 1

Parameters

Local sensor accuracy (max)

1

Type

Local

Operating temperature range (°C)

-40 to 150

Supply voltage (min) (V)

2.4

Interface type

SPI

Supply voltage (max) (V)

5.5

Supply current (max) (µA)

520

Temp resolution (max) (bps)

14

Remote channels (#)

0

Rating

Catalog

Package

SOT-23 (DBV)-5-8.12 mm² 2.9 x 2.8

Features

  • Small SOT-23 package saves space
  • Shutdown mode conserves power between temperature readings
  • Operates over a full −40°C to +150°C range
  • SPI and MICROWIRE bus interface
  • Key specifications:
    • Supply voltage: 2.4 V to 5.5 V
    • Supply current:
      • Operating: 280 µA (typical)
      • Shutdown: 6 µA (typical)
    • Temperature accuracy:
      • 0°C to 70°C ±1°C (maximum)
      • −40°C to 150°C ±2°C (maximum)
    • Temperature resolution: 0.03125°C
  • Small SOT-23 package saves space
  • Shutdown mode conserves power between temperature readings
  • Operates over a full −40°C to +150°C range
  • SPI and MICROWIRE bus interface
  • Key specifications:
    • Supply voltage: 2.4 V to 5.5 V
    • Supply current:
      • Operating: 280 µA (typical)
      • Shutdown: 6 µA (typical)
    • Temperature accuracy:
      • 0°C to 70°C ±1°C (maximum)
      • −40°C to 150°C ±2°C (maximum)
    • Temperature resolution: 0.03125°C

Description

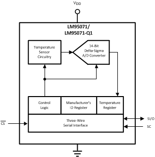
The LM95071 is a low-power, high-resolution digital temperature sensor with an SPI and MICROWIRE compatible interface, available in the 5-pin SOT-23. The host can query the LM95071 at any time to read temperature. Its low operating current is useful in systems where low power consumption is critical.

The LM95071 has 13-bit plus sign temperature resolution (0.03125°C per LSB) while operating over a temperature range of −40°C to +150°C.

The 2.4-V to 5.5-V supply voltage range, fast conversion rate, low supply current, and simple SPI interface of the LM95071 make it ideal for a wide range of applications.

The LM95071 is a low-power, high-resolution digital temperature sensor with an SPI and MICROWIRE compatible interface, available in the 5-pin SOT-23. The host can query the LM95071 at any time to read temperature. Its low operating current is useful in systems where low power consumption is critical.

The LM95071 has 13-bit plus sign temperature resolution (0.03125°C per LSB) while operating over a temperature range of −40°C to +150°C.

The 2.4-V to 5.5-V supply voltage range, fast conversion rate, low supply current, and simple SPI interface of the LM95071 make it ideal for a wide range of applications.

Subscribe to Welllinkchips !
Your Name
* Email
Submit a request