0
LM75A
  • LM75A
  • LM75A
  • LM75A
  • LM75A
  • LM75A
  • LM75A

LM75A

ACTIVE

2C industry standard temperature sensor, I2C/SMBus interface

Texas Instruments LM75A Product Info

1 April 2026 0

Parameters

Local sensor accuracy (max)

2

Type

Local

Operating temperature range (°C)

-55 to 125

Supply voltage (min) (V)

2.7

Interface type

I2C, SMBus

Supply voltage (max) (V)

5.5

Features

ALERT, UL recognized

Supply current (max) (µA)

500

Temp resolution (max) (bps)

9

Remote channels (#)

0

Addresses

8

Rating

Catalog

Package

SOIC (D)-8-29.4 mm² 4.9 x 6

Features

  • No External Components Required
  • Shutdown Mode to Minimize Power Consumption
  • Up to Eight LM75As can be Connected to a Single Bus
  • Power up Defaults Permit Stand-Alone Operation as Thermostat
  • Key Specifications:
    • Supply Voltage
      • LM75A: 2.7 V to 5.5 V
    • Supply Current
      • Operating: 280 µA (Typical)
      • Shutdown: 4 µA (Typical)
    • Temperature Accuracy
      • 25°C to 100°C: ±2°C (Max)
      • 55°C to 125°C: ±3°C (Max)
  • No External Components Required
  • Shutdown Mode to Minimize Power Consumption
  • Up to Eight LM75As can be Connected to a Single Bus
  • Power up Defaults Permit Stand-Alone Operation as Thermostat
  • Key Specifications:
    • Supply Voltage
      • LM75A: 2.7 V to 5.5 V
    • Supply Current
      • Operating: 280 µA (Typical)
      • Shutdown: 4 µA (Typical)
    • Temperature Accuracy
      • 25°C to 100°C: ±2°C (Max)
      • 55°C to 125°C: ±3°C (Max)

Description

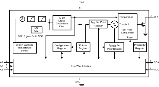
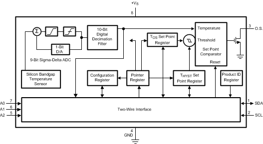
The LM75A is an industry-standard digital temperature sensor with an integrated sigma-delta analog-to-digital converter (ADC) and I2C interface. The LM75A provides 9-bit digital temperature readings with an accuracy of ±2°C from –25°C to 100°C and ±3°C over –55°C to 125°C.

The LM75A operates with a single supply from 2.7 V to 5.5 V. Communication is accomplished over a 2-wire interface which operates up to 400 kHz. The LM75A has three address pins, allowing up to eight LM75A devices to operate on the same 2-wire bus. The LM75A has a dedicated overtemperature output (O.S.) with programmable limit and hysteresis. This output has programmable fault tolerance, which lets the user to define the number of consecutive error conditions that must occur before O.S. is activated. The wide temperature and supply range and I2C interface make the LM75A ideal for a number of applications including base stations, electronic test equipment, office electronics, personal computers, and any other system in which thermal management is critical to performance. The LM75A is available in an SOIC-8 package and an VSSOP-8 package.

The LM75A is an industry-standard digital temperature sensor with an integrated sigma-delta analog-to-digital converter (ADC) and I2C interface. The LM75A provides 9-bit digital temperature readings with an accuracy of ±2°C from –25°C to 100°C and ±3°C over –55°C to 125°C.

The LM75A operates with a single supply from 2.7 V to 5.5 V. Communication is accomplished over a 2-wire interface which operates up to 400 kHz. The LM75A has three address pins, allowing up to eight LM75A devices to operate on the same 2-wire bus. The LM75A has a dedicated overtemperature output (O.S.) with programmable limit and hysteresis. This output has programmable fault tolerance, which lets the user to define the number of consecutive error conditions that must occur before O.S. is activated. The wide temperature and supply range and I2C interface make the LM75A ideal for a number of applications including base stations, electronic test equipment, office electronics, personal computers, and any other system in which thermal management is critical to performance. The LM75A is available in an SOIC-8 package and an VSSOP-8 package.

Subscribe to Welllinkchips !
Your Name
* Email
Submit a request