0
LM3532
  • LM3532
  • LM3532
  • LM3532
  • LM3532

LM3532

ACTIVE

High efficiency white LED driver with programmable Ambient Light Sensing Capability and I2C Compati Linux Mainline Status

Texas Instruments LM3532 Product Info

1 April 2026 0

Parameters

Number of channels

3

Vin (min) (V)

2.7

Vin (max) (V)

5.5

Vout (min) (V)

0

Vout (max) (V)

40

Type

Inductive

Switching frequency (max) (kHz)

500

Duty cycle (max) (%)

94

LED current per channel (mA)

30

Peak efficiency (%)

89

Topology

Boost

Features

OVP

Operating temperature range (°C)

-40 to 125

Rating

Catalog

Package

DSBGA (YFQ)-16-3.24 mm² 1.8 x 1.8

Features

  • Drives up to 3 Parallel High-Voltage LED Strings
    at 40 V Each With up to 90% Efficiency
  • 0.4% Typical Current Matching Between Strings
  • 256 Level Logarithmic and Linear Brightness
    Control With 14-Bit Equivalent Dimming
  • I2C-Compatible Interface
  • Direct Read Back of Ambient Light Sensor Via
    8-bit ADC
  • Programmable Dual Ambient Light Sensor Inputs
    With Internal Sensor Gain Selection
  • Dual External PWM Inputs for LED Brightness
    Adjustment
  • Independent Current String Brightness Control
  • Programmable LED Current Ramp Rates
  • 40-V Overvoltage Protection
  • 1-A Typical Current Limit
  • Drives up to 3 Parallel High-Voltage LED Strings
    at 40 V Each With up to 90% Efficiency
  • 0.4% Typical Current Matching Between Strings
  • 256 Level Logarithmic and Linear Brightness
    Control With 14-Bit Equivalent Dimming
  • I2C-Compatible Interface
  • Direct Read Back of Ambient Light Sensor Via
    8-bit ADC
  • Programmable Dual Ambient Light Sensor Inputs
    With Internal Sensor Gain Selection
  • Dual External PWM Inputs for LED Brightness
    Adjustment
  • Independent Current String Brightness Control
  • Programmable LED Current Ramp Rates
  • 40-V Overvoltage Protection
  • 1-A Typical Current Limit

Description

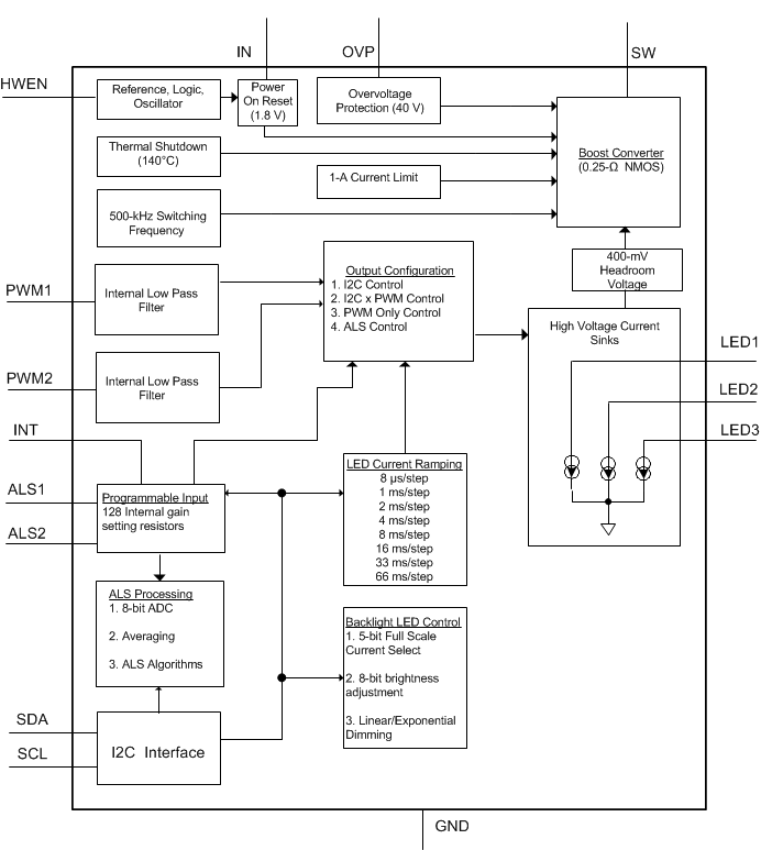
The LM3532 is a 500-kHz fixed frequency asynchronous boost converter which provides the power for 3 high-voltage, low-side current sinks. The device is programmable over an I2C-compatible interface and has independent current control for all three channels. The adaptive current regulation method allows for different LED currents in each current sink thus allowing for a wide variety of backlight and keypad applications.

The main features of the LM3532 include dual ambient light sensor inputs each with 32 internal voltage setting resistors, 8-bit logarithmic and linear brightness control, dual external PWM brightness control inputs, and up to 1000:1 dimming ratio with programmable fade in and fade out settings.

The LM3532 is available in a 16-pin, 0.4-mm pitch thin DSBGA package. The device operates over a 2.7-V to 5.5-V input voltage range and the −40°C to +85°C temperature range.

The LM3532 is a 500-kHz fixed frequency asynchronous boost converter which provides the power for 3 high-voltage, low-side current sinks. The device is programmable over an I2C-compatible interface and has independent current control for all three channels. The adaptive current regulation method allows for different LED currents in each current sink thus allowing for a wide variety of backlight and keypad applications.

The main features of the LM3532 include dual ambient light sensor inputs each with 32 internal voltage setting resistors, 8-bit logarithmic and linear brightness control, dual external PWM brightness control inputs, and up to 1000:1 dimming ratio with programmable fade in and fade out settings.

The LM3532 is available in a 16-pin, 0.4-mm pitch thin DSBGA package. The device operates over a 2.7-V to 5.5-V input voltage range and the −40°C to +85°C temperature range.

Subscribe to Welllinkchips !
Your Name
* Email
Submit a request