0
DS90LV031A
  • DS90LV031A
  • DS90LV031A
  • DS90LV031A
  • DS90LV031A

DS90LV031A

ACTIVE

3-V quad CMOS differential line driver

Texas Instruments DS90LV031A Product Info

1 April 2026 1

Parameters

Function

Driver

Protocols

LVDS

Number of transmitters

4

Number of receivers

0

Supply voltage (V)

3.3

Signaling rate (Mbps)

400

Input signal

LVCMOS, LVTTL

Output signal

LVDS

Rating

Catalog

Operating temperature range (°C)

-40 to 85

Package

SOIC (D)-16-59.4 mm² 9.9 x 6

Features

  • >400-Mbps (200-MHz) Switching Rates
  • 0.1-ns Typical Differential Skew
  • 0.4-ns Maximum Differential Skew
  • 2-ns Maximum Propagation Delay
  • 3.3-V Power Supply Design
  • ±350-mV Differential Signaling
  • Low Power Dissipation (13-mW at 3.3-V Static)
  • Interoperable With Existing 5-V LVDS Devices
  • Compatible With IEEE 1596.3 SCI LVDS Standard
  • Compatible With TIA/EIA-644 LVDS Standard
  • Industrial Operating Temperature Range
  • Available in SOIC and TSSOP Surface-Mount Packaging
  • >400-Mbps (200-MHz) Switching Rates
  • 0.1-ns Typical Differential Skew
  • 0.4-ns Maximum Differential Skew
  • 2-ns Maximum Propagation Delay
  • 3.3-V Power Supply Design
  • ±350-mV Differential Signaling
  • Low Power Dissipation (13-mW at 3.3-V Static)
  • Interoperable With Existing 5-V LVDS Devices
  • Compatible With IEEE 1596.3 SCI LVDS Standard
  • Compatible With TIA/EIA-644 LVDS Standard
  • Industrial Operating Temperature Range
  • Available in SOIC and TSSOP Surface-Mount Packaging

Description

The DS90LV031A is a quad CMOS differential line driver designed for applications requiring ultra low power dissipation and high data rates. The device is designed to support data rates in excess of 400 Mbps (200 MHz) using Low Voltage Differential Signaling (LVDS) technology.

The DS90LV031A accepts low voltage LVTTL or LVCMOS input levels and translates them to low voltage (350 mV) differential output signals. In addition the driver supports a TRI-STATE® function that may be used to disable the output stage, disabling the load current, and thus dropping the device to an ultra low idle power state of 13 mW typical.

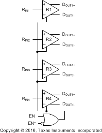
The EN and EN* inputs allow active Low or active High control of the TRI-STATE outputs. The enables are common to all four drivers. The DS90LV031A and companion line receiver (DS90LV032A) provide a new alternative to high power psuedo-ECL devices for high speed point-to-point interface applications.

The DS90LV031A is a quad CMOS differential line driver designed for applications requiring ultra low power dissipation and high data rates. The device is designed to support data rates in excess of 400 Mbps (200 MHz) using Low Voltage Differential Signaling (LVDS) technology.

The DS90LV031A accepts low voltage LVTTL or LVCMOS input levels and translates them to low voltage (350 mV) differential output signals. In addition the driver supports a TRI-STATE® function that may be used to disable the output stage, disabling the load current, and thus dropping the device to an ultra low idle power state of 13 mW typical.

The EN and EN* inputs allow active Low or active High control of the TRI-STATE outputs. The enables are common to all four drivers. The DS90LV031A and companion line receiver (DS90LV032A) provide a new alternative to high power psuedo-ECL devices for high speed point-to-point interface applications.

Subscribe to Welllinkchips !
Your Name
* Email
Submit a request