0
DAC61402
  • DAC61402
  • DAC61402
  • DAC61402

DAC61402

ACTIVE

Dual-channel, 12-bit, ±20-V-range, buffered-output DAC with precision internal reference

Texas Instruments DAC61402 Product Info

1 April 2026 1

Parameters

Resolution (Bits)

12

Number of DAC channels

2

Interface type

SPI

Output type

Buffered Voltage

Output voltage range (V)

-10 to 10, -2.5 to 2.5, -20 to 20, -5 to 5

INL (max) (±LSB)

1

Reference type

Ext, Int

Architecture

R-2R

Rating

Catalog

Operating temperature range (°C)

-40 to 125

Package

VQFN (RHB)-32-25 mm² 5 x 5

Features

  • Performance:
    • Specified monotonic at 16-bit resolution
    • INL: ±1 LSB maximum at 16-bit resolution
    • TUE: ±0.05% FSR, maximum
  • Integrated output buffer
    • Full-scale output voltage: ±5 V, ±10 V, ±20 V, 5 V, 10 V, 20 V, 40 V
    • High drive capability: ±15 mA
    • Per channel sense pins
  • Integrated 2.5-V precision reference
    • Initial accuracy: ±2.5 mV, maximum
    • Low drift: 10 ppm/°C, maximum
  • Reliability features:
    • CRC error check
    • Short-circuit limit
    • Fault pin
  • 50-MHz, SPI-compatible serial interface
    • 4-wire mode, 1.7-V to 5.5-V operation
    • Readback and daisy-chain operations
  • Temperature range: –40°C to +125°C
  • Package: 5-mm × 5-mm, 32-pin QFN
  • Performance:
    • Specified monotonic at 16-bit resolution
    • INL: ±1 LSB maximum at 16-bit resolution
    • TUE: ±0.05% FSR, maximum
  • Integrated output buffer
    • Full-scale output voltage: ±5 V, ±10 V, ±20 V, 5 V, 10 V, 20 V, 40 V
    • High drive capability: ±15 mA
    • Per channel sense pins
  • Integrated 2.5-V precision reference
    • Initial accuracy: ±2.5 mV, maximum
    • Low drift: 10 ppm/°C, maximum
  • Reliability features:
    • CRC error check
    • Short-circuit limit
    • Fault pin
  • 50-MHz, SPI-compatible serial interface
    • 4-wire mode, 1.7-V to 5.5-V operation
    • Readback and daisy-chain operations
  • Temperature range: –40°C to +125°C
  • Package: 5-mm × 5-mm, 32-pin QFN

Description

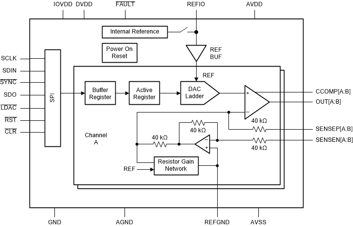
The 16-bit DAC81402 and 12-bit DAC61402 (DACx1402) are pin-compatible, dual-channel, buffered, high-voltage-output, digital-to-analog converters (DACs). These devices include a low-drift, 2.5-V internal reference that eliminates the need for an external precision reference in most applications. The devices are specified monotonic and provide high linearity of ±1 LSB INL. Additionally, the devices implement per channel sense pins that eliminate IR drops and sense up to ±12 V of ground bounce.

A user-selectable output configuration enables full-scale bipolar output voltages of ±20 V, ±10 V, and ±5 V; and full-scale unipolar output voltages of 40 V, 20 V, 10 V and 5 V. The full-scale output range for each DAC channel is independently programmable. The integrated DAC output buffers can sink or source up to 15 mA, thus limiting the need for additional operational amplifiers.

The DACx1402 incorporate a power-on-reset circuit that connects the DAC outputs to ground at power up. The outputs remain in this mode until the device is properly configured for operation. The devices include additional reliability features such as a CRC error check, short-circuit protection, and a thermal alarm.

Communication to the devices is performed through a 4-wire serial interface that supports operation from 1.7 V to 5.5 V.

The 16-bit DAC81402 and 12-bit DAC61402 (DACx1402) are pin-compatible, dual-channel, buffered, high-voltage-output, digital-to-analog converters (DACs). These devices include a low-drift, 2.5-V internal reference that eliminates the need for an external precision reference in most applications. The devices are specified monotonic and provide high linearity of ±1 LSB INL. Additionally, the devices implement per channel sense pins that eliminate IR drops and sense up to ±12 V of ground bounce.

A user-selectable output configuration enables full-scale bipolar output voltages of ±20 V, ±10 V, and ±5 V; and full-scale unipolar output voltages of 40 V, 20 V, 10 V and 5 V. The full-scale output range for each DAC channel is independently programmable. The integrated DAC output buffers can sink or source up to 15 mA, thus limiting the need for additional operational amplifiers.

The DACx1402 incorporate a power-on-reset circuit that connects the DAC outputs to ground at power up. The outputs remain in this mode until the device is properly configured for operation. The devices include additional reliability features such as a CRC error check, short-circuit protection, and a thermal alarm.

Communication to the devices is performed through a 4-wire serial interface that supports operation from 1.7 V to 5.5 V.

Subscribe to Welllinkchips !
Your Name
* Email
Submit a request