0
DAC0808
  • DAC0808
  • DAC0808
  • DAC0808

DAC0808

ACTIVE

8-Bit D/A Converter

Texas Instruments DAC0808 Product Info

1 April 2026 1

Parameters

Resolution (Bits)

8

Number of DAC channels

1

Interface type

Parallel

Output type

Unbuffered Current

Output voltage range (V)

-18 to 18

INL (max) (±LSB)

1

Settling time (µs)

0.15

Reference type

Ext

Architecture

Multiplying DAC

Rating

Catalog

Features

Current Output

Sample/update rate (Msps)

6.6

Power consumption (typ) (mW)

33

Operating temperature range (°C)

0 to 70

Product type

General-purpose DAC

Package

PDIP (NFG)-16-52.451 mm² 6.35 x 8.26

Features

  • Relative accuracy: ±0.19% error maximum
  • Full scale current match: ±1 LSB typ
  • Fast settling time: 150 ns typ
  • Noninverting digital inputs are TTL and CMOS compatible
  • High speed multiplying input slew rate: 8 mA/µs
  • Power supply voltage range: ±4.5V to ±18V
  • Low power consumption: 33 mW @ ±5V

  • Relative accuracy: ±0.19% error maximum
  • Full scale current match: ±1 LSB typ
  • Fast settling time: 150 ns typ
  • Noninverting digital inputs are TTL and CMOS compatible
  • High speed multiplying input slew rate: 8 mA/µs
  • Power supply voltage range: ±4.5V to ±18V
  • Low power consumption: 33 mW @ ±5V

Description

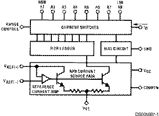
The DAC0808 is an 8-bit monolithic digital-to-analog converter (DAC) featuring a full scale output current settling time of 150 ns while dissipating only 33 mW with ±5V supplies. No reference current (IREF) trimming is required for most applications since the full scale output current is typically ±1 LSB of 255 IREF/256. Relative accuracies of better than ±0.19% assure 8-bit monotonicity and linearity while zero level output current of less than 4 µA provides 8-bit zero accuracy for IREF>=2 mA. The power supply currents of the DAC0808 is independent of bit codes, and exhibits essentially constant device characteristics over the entire supply voltage range.

The DAC0808 will interface directly with popular TTL, DTL or CMOS logic levels, and is a direct replacement for the MC1508/MC1408. For higher speed applications, see DAC0800 data sheet.


The DAC0808 is an 8-bit monolithic digital-to-analog converter (DAC) featuring a full scale output current settling time of 150 ns while dissipating only 33 mW with ±5V supplies. No reference current (IREF) trimming is required for most applications since the full scale output current is typically ±1 LSB of 255 IREF/256. Relative accuracies of better than ±0.19% assure 8-bit monotonicity and linearity while zero level output current of less than 4 µA provides 8-bit zero accuracy for IREF>=2 mA. The power supply currents of the DAC0808 is independent of bit codes, and exhibits essentially constant device characteristics over the entire supply voltage range.

The DAC0808 will interface directly with popular TTL, DTL or CMOS logic levels, and is a direct replacement for the MC1508/MC1408. For higher speed applications, see DAC0800 data sheet.