0
BUF12800
  • BUF12800
  • BUF12800

BUF12800

ACTIVE

12-CH Gamma-Voltage Generator

Texas Instruments BUF12800 Product Info

1 April 2026 1

Parameters

Display type

LCD unipolar

IC integration

Gamma buffer

Vin (min) (V)

7

Vin (max) (V)

18

Applications

13 to 21 inches, 21 inches and above, 7 inches or less, 7 to 13 inches

Source driver voltage (min) (V)

7

Source driver voltage (max) (V)

18

Level shifter/scan driver (Ch)

0

Features

Gamma buffer, I2C interface

Rating

Catalog

Operating temperature range (°C)

-40 to 85

Package

HTSSOP (PWP)-24-49.92 mm² 7.8 x 6.4

Features

  • 12-CHANNEL GAMMA CORRECTION
  • 10-BIT RESOLUTION
  • DOUBLE-BUFFERED DAC REGISTERS
  • INTEGRATED REFERENCE BUFFERS
  • RAIL-TO-RAIL OUTPUT
  • LOW SUPPLY CURRENT: 900µA/ch
  • SUPPLY VOLTAGE: 7V to 18V
  • DIGITAL SUPPLY: 2.3V to 5.5V
  • INDUSTRY-STANDARD TWO-WIRE INTERFACE
    • High-Speed Mode: 3.4MHz
  • HIGH ESD RATING:
    • 4kV HBM, 1kV CDM, 200V MM
  • DEMO BOARD AND SOFTWARE AVAILABLE
  • APPLICATIONS
    • TFT-LCD REFERENCE DRIVERS
    • REFERENCE VOLTAGE GENERATORS
    • INDUSTRIAL PROCESS CONTROL

PowerPAD is a registered trademark of Texas Instruments.
All other trademarks are the property of their respective owners.

  • 12-CHANNEL GAMMA CORRECTION
  • 10-BIT RESOLUTION
  • DOUBLE-BUFFERED DAC REGISTERS
  • INTEGRATED REFERENCE BUFFERS
  • RAIL-TO-RAIL OUTPUT
  • LOW SUPPLY CURRENT: 900µA/ch
  • SUPPLY VOLTAGE: 7V to 18V
  • DIGITAL SUPPLY: 2.3V to 5.5V
  • INDUSTRY-STANDARD TWO-WIRE INTERFACE
    • High-Speed Mode: 3.4MHz
  • HIGH ESD RATING:
    • 4kV HBM, 1kV CDM, 200V MM
  • DEMO BOARD AND SOFTWARE AVAILABLE
  • APPLICATIONS
    • TFT-LCD REFERENCE DRIVERS
    • REFERENCE VOLTAGE GENERATORS
    • INDUSTRIAL PROCESS CONTROL

PowerPAD is a registered trademark of Texas Instruments.
All other trademarks are the property of their respective owners.

Description

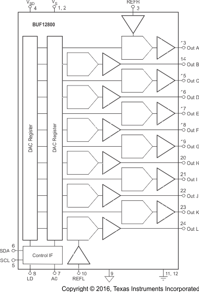
The BUF12800 is a programmable voltage reference generator designed for dynamic gamma correction in TFT-LCD panels. It provides 12 programmable outputs, each with 10-bit resolution.

TI’s new, small geometry, state-of-the-art, analog CMOS process allows the use of one digital-to-analog converter (DAC) per channel while still maintaining a very small chip size. This topology has the advantage of significantly increased programming speed over existing programmable buffers.

Programming of each output occurs through an industrystandard, two-wire serial interface. Unlike existing programmable buffers, the BUF12800 offers a highspeed, two-wire interface mode that allows clock speeds up to 3.4MHz. The BUF12800 features a double-buffered DAC register structure that significantly simplifies implementation of dynamic gamma control. This further reduces programming time, especially when many channels have to be updated simultaneously.

Reference pins set the high and low voltages of the output range. They are internally buffered, which simplifies design. They may be connected to external resistors to divide the output range for finer resolution of outputs.

The BUF12800 is available in a TSSOP-24 PowerPAD™ package. It is specified from –40°C to +85°C.

The BUF12800 is a programmable voltage reference generator designed for dynamic gamma correction in TFT-LCD panels. It provides 12 programmable outputs, each with 10-bit resolution.

TI’s new, small geometry, state-of-the-art, analog CMOS process allows the use of one digital-to-analog converter (DAC) per channel while still maintaining a very small chip size. This topology has the advantage of significantly increased programming speed over existing programmable buffers.

Programming of each output occurs through an industrystandard, two-wire serial interface. Unlike existing programmable buffers, the BUF12800 offers a highspeed, two-wire interface mode that allows clock speeds up to 3.4MHz. The BUF12800 features a double-buffered DAC register structure that significantly simplifies implementation of dynamic gamma control. This further reduces programming time, especially when many channels have to be updated simultaneously.

Reference pins set the high and low voltages of the output range. They are internally buffered, which simplifies design. They may be connected to external resistors to divide the output range for finer resolution of outputs.

The BUF12800 is available in a TSSOP-24 PowerPAD™ package. It is specified from –40°C to +85°C.

Subscribe to Welllinkchips !
Your Name
* Email
Submit a request