0
BQ500101
  • BQ500101
  • BQ500101

BQ500101

ACTIVE

NexFET Power Stage

Texas Instruments BQ500101 Product Info

1 April 2026 0

Parameters

Rating

Catalog

VDS (V)

30

Ploss current (A)

5

Features

Ultra-low inductance package

Operating temperature range (°C)

-40 to 125

Package

VSON-CLIP (DPC)-8-15.75 mm² 4.5 x 3.5

Features

  • 98% System Efficiency at 5 A
  • Max Rated Continuous Current 10 A, Peak 15 A
  • High-Frequency Operation (up to 600 kHz)
  • High-Density SON 3.5 × 4.5 mm Footprint
  • Ultra-Low Inductance Package
  • System Optimized PCB Footprint
  • 3.3-V and 5-V PWM Signal Compatible
  • Input Voltages up to 24 V
  • Integrated Bootstrap Diode
  • Shoot-Through Protection
  • RoHS Compliant – Lead Free Terminal Plating
  • Halogen Free
  • Optimized Power Stage Containing High-
    Efficiency Gate Drivers and FETs
  • Optimized for 15-W Wireless Power Transmitter Designs
  • 98% System Efficiency at 5 A
  • Max Rated Continuous Current 10 A, Peak 15 A
  • High-Frequency Operation (up to 600 kHz)
  • High-Density SON 3.5 × 4.5 mm Footprint
  • Ultra-Low Inductance Package
  • System Optimized PCB Footprint
  • 3.3-V and 5-V PWM Signal Compatible
  • Input Voltages up to 24 V
  • Integrated Bootstrap Diode
  • Shoot-Through Protection
  • RoHS Compliant – Lead Free Terminal Plating
  • Halogen Free
  • Optimized Power Stage Containing High-
    Efficiency Gate Drivers and FETs
  • Optimized for 15-W Wireless Power Transmitter Designs

Description

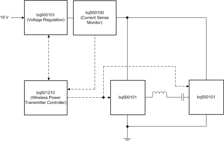
The bq500101 NexFET Power Stage is optimized for wireless power applications covering the WPC v1.2 medium power specification. The device can be used for both the rail voltage control in fixed frequency transmitter types as well as the coil drivers for both fixed and variable frequency types. This combination produces a high-current, high-efficiency, and high-speed switching device in a small 3.5 × 4.5 mm outline package. In addition, the PCB footprint is optimized to help reduce design time and simplify the completion of the overall system design.

The bq500101 NexFET Power Stage is optimized for wireless power applications covering the WPC v1.2 medium power specification. The device can be used for both the rail voltage control in fixed frequency transmitter types as well as the coil drivers for both fixed and variable frequency types. This combination produces a high-current, high-efficiency, and high-speed switching device in a small 3.5 × 4.5 mm outline package. In addition, the PCB footprint is optimized to help reduce design time and simplify the completion of the overall system design.

Subscribe to Welllinkchips !
Your Name
* Email
Submit a request