0
AMC3302
  • AMC3302
  • AMC3302
  • AMC3302

AMC3302

ACTIVE

±50-mV input, precision current sensing reinforced isolated amplifier with integrated DC/DC

Texas Instruments AMC3302 Product Info

1 April 2026 0

Parameters

Device type

Current sensing

Output type

Differential

Peak-to-peak input voltage range (V)

0.05

Isolation rating

Reinforced

Withstand isolation voltage (VISO) (Vrms)

4250

Working isolation voltage (VIOWM) (Vrms)

1200

Transient isolation voltage (VIOTM) (VPK)

6000

CMTI (min) (kV/µs)

85

Creepage (min) (mm)

8

Clearance (min) (mm)

8

Input offset (±) (max) (V)

0.0001

Input offset drift (±) (typ) (µV/°C)

0.15

Rating

Catalog

Operating temperature range (°C)

-40 to 125

Package

SO-MOD (DWE)-16-106.09 mm² 10.3 x 10.3

Features

  • 3.3-V or 5-V single supply with integrated DC/DC converter
  • ±50-mV input voltage range optimized for current measurement using shunt resistors
  • Fixed gain: 41
  • Low DC errors:
    • Offset voltage: ±50 µV (max)
    • Offset drift: ±0.5 µV/°C (max)
    • Gain error: ±0.2% (max)
    • Gain error drift: ±35 ppm/°C (max)
    • Nonlinearity: ±0.03% (max)
  • High CMTI: 95 kV/µs (min)
  • System-level diagnostic features
  • Meets CISPR-11 and CISPR-25 EMI standards
  • Safety-related certifications:
    • 6000-VPK reinforced isolation per DIN VDE V 0884-11
    • 4250-VRMS isolation for 1 minute per UL1577
  • Fully specified over the extended industrial temperature range: –40°C to +125°C
  • 3.3-V or 5-V single supply with integrated DC/DC converter
  • ±50-mV input voltage range optimized for current measurement using shunt resistors
  • Fixed gain: 41
  • Low DC errors:
    • Offset voltage: ±50 µV (max)
    • Offset drift: ±0.5 µV/°C (max)
    • Gain error: ±0.2% (max)
    • Gain error drift: ±35 ppm/°C (max)
    • Nonlinearity: ±0.03% (max)
  • High CMTI: 95 kV/µs (min)
  • System-level diagnostic features
  • Meets CISPR-11 and CISPR-25 EMI standards
  • Safety-related certifications:
    • 6000-VPK reinforced isolation per DIN VDE V 0884-11
    • 4250-VRMS isolation for 1 minute per UL1577
  • Fully specified over the extended industrial temperature range: –40°C to +125°C

Description

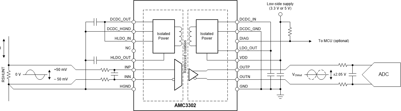
The AMC3302 is a precision, isolated amplifier optimized for shunt-based current measurements. The fully integrated, isolated DC/DC converter allows single-supply operation from the low-side of the device, which makes the device a unique solution for space-constrained applications. The reinforced capacitive isolation barrier is certified according to VDE V 0884-11 and UL1577 and supports a working voltage of up to 1.2 kVRMS.

The isolation barrier separates parts of the system that operate on different common-mode voltage levels and protects the low-voltage side from hazardous voltages and damage.

The input of the AMC3302 is optimized for direct connection to a low-impedance shunt resistor or another low-impedance voltage source with low signal levels. The excellent DC accuracy and low temperature drift supports accurate current measurements over the extended industrial temperature range from –40°C to +125°C.

The integrated DC/DC converter fault-detection and diagnostic output pin of the AMC3302 simplify system-level design and diagnostics.

The AMC3302 is a precision, isolated amplifier optimized for shunt-based current measurements. The fully integrated, isolated DC/DC converter allows single-supply operation from the low-side of the device, which makes the device a unique solution for space-constrained applications. The reinforced capacitive isolation barrier is certified according to VDE V 0884-11 and UL1577 and supports a working voltage of up to 1.2 kVRMS.

The isolation barrier separates parts of the system that operate on different common-mode voltage levels and protects the low-voltage side from hazardous voltages and damage.

The input of the AMC3302 is optimized for direct connection to a low-impedance shunt resistor or another low-impedance voltage source with low signal levels. The excellent DC accuracy and low temperature drift supports accurate current measurements over the extended industrial temperature range from –40°C to +125°C.

The integrated DC/DC converter fault-detection and diagnostic output pin of the AMC3302 simplify system-level design and diagnostics.

Subscribe to Welllinkchips !
Your Name
* Email
Submit a request