0
ADS131M08
  • ADS131M08
  • ADS131M08
  • ADS131M08

ADS131M08

ACTIVE

24-bit, 32-kSPS, 8-channel, simultaneous-sampling, delta-sigma ADC

Texas Instruments ADS131M08 Product Info

1 April 2026 0

Parameters

Resolution (Bits)

24

Sample rate (max) (ksps)

32

Number of input channels

8

Interface type

SPI

Architecture

Delta-Sigma

Input type

Differential, Single-ended

Multichannel configuration

Simultaneous Sampling

Rating

Catalog

Reference mode

External, Internal

Input voltage range (max) (V)

3.6

Input voltage range (min) (V)

-1.3

Features

PGA, Small Size

Operating temperature range (°C)

-40 to 125

Power consumption (typ) (mW)

6

Analog supply voltage (min) (V)

2.7

Analog supply voltage (max) (V)

3.6

SNR (dB)

101

Digital supply (min) (V)

1.65

Digital supply (max) (V)

3.6

Package

TQFP (PBS)-32-49 mm² 7 x 7

Features

  • 8 simultaneously sampling differential inputs
  • Programmable data rate up to 32 kSPS
  • Programmable gain up to 128
  • Noise performance:
    • 102-dB dynamic range at gain = 1, 4 kSPS
    • 80-dB dynamic range at gain = 64, 4 kSPS
  • Total harmonic distortion: –100 dB
  • High-impedance inputs for direct sensor connection:
    • Input impedance 330-kΩ for gains of 1, 2, and 4
    • Input impedance ≥ 1-MΩ for gains of 8, 16, 32, 64, and 128
  • Programmable channel-to-channel phase delay calibration:
    • 244-ns resolution, 8.192-MHz fCLKIN
  • Current-detect mode allows for extremely low power tamper detection
  • Fast startup: first data within 0.5 ms of supply ramp
  • Integrated negative charge pump allows input signals below ground
  • Crosstalk between channels: –120 dB
  • Low-drift internal voltage reference
  • Cyclic redundancy check (CRC) on communications and register map
  • 2.7-V to 3.6-V analog and digital supplies
  • Low power consumption: 6.0 mW at 3-V AVDD and DVDD
  • Packages: 32-pin TQFP or 32-pin WQFN
  • Operating temperature range: –40°C to +125°C
  • 8 simultaneously sampling differential inputs
  • Programmable data rate up to 32 kSPS
  • Programmable gain up to 128
  • Noise performance:
    • 102-dB dynamic range at gain = 1, 4 kSPS
    • 80-dB dynamic range at gain = 64, 4 kSPS
  • Total harmonic distortion: –100 dB
  • High-impedance inputs for direct sensor connection:
    • Input impedance 330-kΩ for gains of 1, 2, and 4
    • Input impedance ≥ 1-MΩ for gains of 8, 16, 32, 64, and 128
  • Programmable channel-to-channel phase delay calibration:
    • 244-ns resolution, 8.192-MHz fCLKIN
  • Current-detect mode allows for extremely low power tamper detection
  • Fast startup: first data within 0.5 ms of supply ramp
  • Integrated negative charge pump allows input signals below ground
  • Crosstalk between channels: –120 dB
  • Low-drift internal voltage reference
  • Cyclic redundancy check (CRC) on communications and register map
  • 2.7-V to 3.6-V analog and digital supplies
  • Low power consumption: 6.0 mW at 3-V AVDD and DVDD
  • Packages: 32-pin TQFP or 32-pin WQFN
  • Operating temperature range: –40°C to +125°C

Description

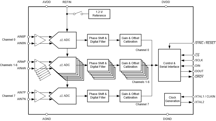
The ADS131M08 is a eight-channel, simultaneously-sampling, 24-bit, delta-sigma (ΔΣ), analog-to-digital converter (ADC) that offers wide dynamic range, low power, and energy-measurement-specific features, making the device an excellent fit for energy metering, power metrology, and circuit breaker applications. The ADC inputs can be directly interfaced to a resistor-divider network or a power transformer to measure voltage or to a current transformer or a Rogowski coil to measure current.

The individual ADC channels can be independently configured depending on the sensor input. A low-noise, programmable gain amplifier (PGA) provides gains ranging from 1 to 128 to amplify low-level signals. Additionally, this device integrates channel-to-channel phase calibration and offset and gain calibration registers to help remove signal-chain errors.

A low-drift, 1.2-V reference is integrated into the device reducing printed circuit board (PCB) area. Optional cyclic redundancy checks (CRCs) on the data input, data output, and register map maintain communication integrity.

The complete analog front-end (AFE) is offered in a 32-pin TQFP package or a leadless 32-pin WQFN package and is specified over the industrial temperature range of –40°C to +125°C.

The ADS131M08 is a eight-channel, simultaneously-sampling, 24-bit, delta-sigma (ΔΣ), analog-to-digital converter (ADC) that offers wide dynamic range, low power, and energy-measurement-specific features, making the device an excellent fit for energy metering, power metrology, and circuit breaker applications. The ADC inputs can be directly interfaced to a resistor-divider network or a power transformer to measure voltage or to a current transformer or a Rogowski coil to measure current.

The individual ADC channels can be independently configured depending on the sensor input. A low-noise, programmable gain amplifier (PGA) provides gains ranging from 1 to 128 to amplify low-level signals. Additionally, this device integrates channel-to-channel phase calibration and offset and gain calibration registers to help remove signal-chain errors.

A low-drift, 1.2-V reference is integrated into the device reducing printed circuit board (PCB) area. Optional cyclic redundancy checks (CRCs) on the data input, data output, and register map maintain communication integrity.

The complete analog front-end (AFE) is offered in a 32-pin TQFP package or a leadless 32-pin WQFN package and is specified over the industrial temperature range of –40°C to +125°C.

Subscribe to Welllinkchips !
Your Name
* Email
Submit a request