0
ADS1261-Q1
  • ADS1261-Q1
  • ADS1261-Q1

ADS1261-Q1

ACTIVE

Automotive 24-bit, 40-kSPS, 10-ch, delta-sigma ADC with PGA, VREF, IDACs and AC excitation

Texas Instruments ADS1261-Q1 Product Info

1 April 2026 0

Parameters

Resolution (Bits)

24

Sample rate (max) (ksps)

40

Number of input channels

10

Interface type

SPI

Architecture

Delta-Sigma

Input type

Differential, Single-ended

Multichannel configuration

Multiplexed

Rating

Automotive

Reference mode

External, Internal

Input voltage range (max) (V)

2.5, 5

Input voltage range (min) (V)

-2.5, 0

Features

50/60 Hz Rejection, Excitation Current Sources (iDACs), GPIO, Oscillator, PGA, Temp Sensor

Operating temperature range (°C)

-40 to 125

Power consumption (typ) (mW)

20

Analog supply voltage (min) (V)

-2.5, 4.75

Analog supply voltage (max) (V)

2.5, 5.25

Digital supply (min) (V)

2.7

Digital supply (max) (V)

5.25

Package

VQFNP (RHM)-32-25 mm² 5 x 5

Features

  • AEC-Q100 qualified for automotive applications
    • Temperature grade 1: –40°C to +125°C, TA
  • 24-bit, high-precision ADCs
    • Offset drift: 1 nV/°C
    • Gain drift: 0.5 ppm/°C
    • Noise: 30 nVRMS (20 SPS, gain = 128)
    • Linearity: 2 ppm
  • CMOS PGA gain: 1 to 128
  • Data rate: 2.5 SPS to 40 kSPS
  • 2.5-V reference: 4 ppm/°C
  • Single-cycle settling mode
  • Signal and reference monitors
  • 5-V or ±2.5-V power supply
  • Internal temperature sensor
  • Cyclic redundancy check (CRC)
  • Excitation current sources
  • Sensor burn-out current sources
  • Four general-purpose inputs/outputs
    (ADS1261-Q1)
  • AC excitation for bridge sensors (ADS1261-Q1)
  • 5-mm × 5-mm VQFN package
  • AEC-Q100 qualified for automotive applications
    • Temperature grade 1: –40°C to +125°C, TA
  • 24-bit, high-precision ADCs
    • Offset drift: 1 nV/°C
    • Gain drift: 0.5 ppm/°C
    • Noise: 30 nVRMS (20 SPS, gain = 128)
    • Linearity: 2 ppm
  • CMOS PGA gain: 1 to 128
  • Data rate: 2.5 SPS to 40 kSPS
  • 2.5-V reference: 4 ppm/°C
  • Single-cycle settling mode
  • Signal and reference monitors
  • 5-V or ±2.5-V power supply
  • Internal temperature sensor
  • Cyclic redundancy check (CRC)
  • Excitation current sources
  • Sensor burn-out current sources
  • Four general-purpose inputs/outputs
    (ADS1261-Q1)
  • AC excitation for bridge sensors (ADS1261-Q1)
  • 5-mm × 5-mm VQFN package

Description

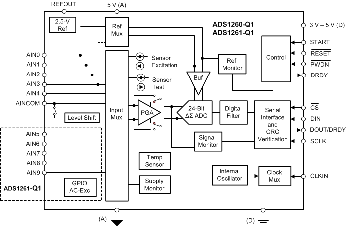
The ADS1260-Q1 and ADS1261-Q1 (ADS126x-Q1) are precision, 40-kSPS, delta-sigma (ΔΣ) analog-to-digital converters (ADCs) that include a programmable gain amplifier (PGA). The devices also include a precision voltage reference and internal fault monitors. The sensor-ready ADCs give a high-accuracy, single-chip solution for the most demanding measurements, for example, weigh scales and resistance temperature detectors (RTDs).

The ADCs contain an input signal multiplexer, a low-noise PGA (with gains from 1 to 128), a 24-bit ΔΣ modulator, a precision voltage reference, and a programmable digital filter.

The high-impedance PGA inputs (1 GΩ) decrease measurement error due to sensor loading. The ADS1260-Q1 supports three differential or five single-ended inputs. The ADS1261-Q1 supports five differential or ten single-ended inputs. The integrated current sources simplify the measurement of RTDs.

The flexible digital filter is programmable for single-cycle settled conversions. Signal and reference monitors, a temperature sensor, and CRC data verification enhance data reliability.

The ADS126x-Q1 are pin compatible devices given in a 5-mm × 5-mm VQFN package and are specified across the –40°C to +125°C temperature range.

The ADS1260-Q1 and ADS1261-Q1 (ADS126x-Q1) are precision, 40-kSPS, delta-sigma (ΔΣ) analog-to-digital converters (ADCs) that include a programmable gain amplifier (PGA). The devices also include a precision voltage reference and internal fault monitors. The sensor-ready ADCs give a high-accuracy, single-chip solution for the most demanding measurements, for example, weigh scales and resistance temperature detectors (RTDs).

The ADCs contain an input signal multiplexer, a low-noise PGA (with gains from 1 to 128), a 24-bit ΔΣ modulator, a precision voltage reference, and a programmable digital filter.

The high-impedance PGA inputs (1 GΩ) decrease measurement error due to sensor loading. The ADS1260-Q1 supports three differential or five single-ended inputs. The ADS1261-Q1 supports five differential or ten single-ended inputs. The integrated current sources simplify the measurement of RTDs.

The flexible digital filter is programmable for single-cycle settled conversions. Signal and reference monitors, a temperature sensor, and CRC data verification enhance data reliability.

The ADS126x-Q1 are pin compatible devices given in a 5-mm × 5-mm VQFN package and are specified across the –40°C to +125°C temperature range.

Subscribe to Welllinkchips !
Your Name
* Email
Submit a request