0
MX7548
  • MX7548

MX7548

PRODUCTION

CMOS, 8-Bit-Compatible, 12-Bit DAC

Analog Devices MX7548 Product Info

10 February 2026 9

Features

  • 8-Bit Bus Compatible
  • Versatile µP Interface with Selectable Data Format and Data Override
  • Fast Interface Timing—120ns min Write Pulse Width
  • All Grades 12-Bit Monotonic Over Temperature
  • ±1 LSB max Gain Accuracy
  • Operation specified at +5V, +12V or +15V Supply Voltages
  • Small Footprint Packages
  • High ESD Resistance

Part details & applications

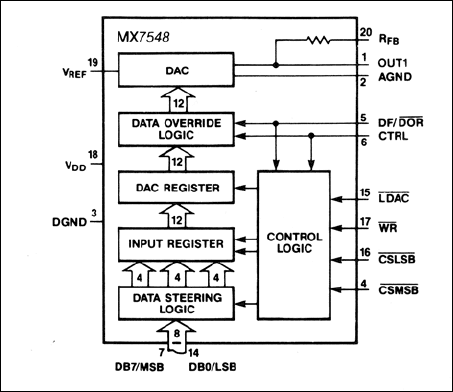
The MX7548 is a 12-bit CMOS, current output, multiplying digital-to-analog converter (DAC) with a versatile interface for microprocessors using 8-bit busses. The MX7548 accepts data into its input-registers in two bytes in either left- or right-justified format, lease significant byte or most significant byte first. Standard active-low WR and active-low CSLSB or active-low SCMSB inputs control the data load operation. A separate active-low LDAC input controls transfer of data from the input register to the DAC register allowing for simultaneous update of all DACs in multi-DAC systems. A data override input forces the DAC output to full-scale or zero-code without altering the contents of the input registers. This permits the user to perform DAC calibration conveniently without having to load calibration data into the DAC.

The MX7548 works with a single +5V, +12V or +15V power supply, and the electrical characteristics are specified at all of these supply voltages. All digital inputs are TTL and +5V-CMOS compatible with any of these supply voltages. Maxim MX7548 uses low tempco thin-film resistors which are laser trimmed to ±¼ LSB linearity and better than ±1 LSB gain accuracy. The digital inputs are designed with improved ESD protection and can typically withstand over 5,000V of ESD voltages. The MX7548 is supplied in 20-lead narrow DIP, PLCC, and Small Outline packages.

Applications

  • µP-Controlled Systems
  • Automatic Test Equipment
  • Digitally Controlled Filters
  • Motion Control Systems
  • Process Control
  • Programmable Gain Amplifiers
  • Programmable Power Supplies

Subscribe to Welllinkchips !
Your Name
* Email
Submit a request