0
MAX7365
  • MAX7365

MAX7365

PRODUCTION

1MHz I²C-Interfaced 8 x 7 Key-Switch Controller with GPIO Ports 8 x 7 Key-Switch Controller with High ESD Protection

Analog Devices MAX7365 Product Info

10 February 2026 10

Features

  • Reduce Processor Load
    • Monitor Up to 56 Keys
    • FIFO Queues Up to 16 Debounced Key Events
    • Hardware Interrupt at the FIFO Level or at the End-of-Definable Time Period
  • Increased Battery Life
    • Autosleep and Autowake Minimize Current Consumption
    • Less Than 1µA Sleep Current
  • Save Board Space
    • Small (2mm × 2mm) and Low-Profile 25-Bump WLP
  • Flexible Design Requirements
    • 1.62V to 3.6V Operation
    • Proprietary Ghost-Key Detection and Removal
    • Key Debounce Time User Configurable from 1ms to 31ms
    • Low-EMI Design Uses Static Matrix Monitoring
    • Five Additional GPIO Ports
    • All Key Switches Can Be Used as GPIs
    • 1Mbps, 5.5V Tolerant, 2-Wire Serial Interface
    • Selectable Two-Wire, Serial-Bus Timeout

Part details & applications

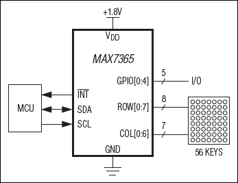
The MAX7365 is an I²C-interfaced peripheral that provides microprocessors with management of up to 56 key switches.

Key codes generated for each keypress and release enable easier implementation of multiple key entries. Key inputs monitored statically, not dynamically, ensure low-EMI operation. The switches can be metallic or resistive (carbon) with up to 5kΩ of resistance.

The device features autosleep and autowake to further minimize the power consumption of the device. The autosleep feature puts the device in a low-power state (1µA typ) after a programmable sleep timeout period. The autowake feature configures the device to return to normal operating mode from sleep upon a keypress.

The key controller debounces and maintains a FIFO of keypress and release events (including autorepeat, if enabled). An interrupt (active-low INT) output can be configured to alert keypresses either as they occur or at the maximum rate.

Unused key switches can be used as GPI. In addition, there are five additional general-purpose input/output (GPIO) ports. GPOs can be programmed as push-pull or open-drain to high- or low-side output drivers. When programmed as open drain, an optional on-chip 100kΩ pullup/pulldown resister can be enabled.

The device is available in a small (2mm x 2mm) 25-bump wafer-level package (WLP) for cell phones, pocket PCs, and other portable consumer electronic applications. The device operates over the -40°C to +85°C extended temperature range.

Applications

  • Cell Phones
  • Handheld Games
  • Netbooks
  • PDAs
  • Portable Consumer Electronics

Subscribe to Welllinkchips !
Your Name
* Email
Submit a request