0
MAX543
  • MAX543

MAX543

PRODUCTION

Serial, CMOS, Multiplying, 12-Bit DAC in 8-Pin Package Single, Serial, Current-Output DAC in a SO Package

Analog Devices MAX543 Product Info

10 February 2026 7

Features

  • 12-Bit Accuracy in 8-Pin MiniDIP or SO
  • Fast 3-Wire Serial Interface
  • Low INL and DNL (±1/2 LSB Max)
  • Gain Accuracy to ±1LSB Max
  • Low Gain Tempco (5ppm/°C Max)
  • Operates with +5V or +15V Supplies
  • TTL/CMOS Compatible
  • ESD Protected

Part details & applications

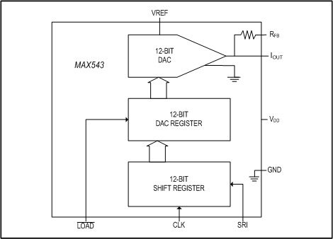
The MAX543 is a 12-bit, current-output, multiplying digital-to-analog converter (DAC) that comes in space-saving 8-pin DIP and 8- or 16-pin surface-mount SO packages. Its 3-wire serial interface saves additional board space and also results in low power dissipation. When used with microprocessors (µPs) with a serial port, the MAX543 minimizes the digital noise feedthrough from its input pins to its output. The serial port can be used as a dedicated analog bus and kept inactive while the MAX543 is in use. Serial interfacing also reduces the complexity of opto- or transformer-isolated applications.

The MAX543 contains a 12-bit R-2R type DAC, a serial-in parallel-out shift register, a DAC register and control logic. On the rising edge of the clock (CLK) pulse, the serial input (SRI) data is shifted into the MAX543. When all the data is clocked in, it is transferred into the DAC register by taking the active-low LOAD input low. The MAX 543 is specified with a single power supply of either +5V or +15V. With a +5V supply, the digital inputs are TTL and +5V CMOS compatible. High-voltage CMOS compatibility is maintained with a +15V supply. Maxim’s MAX543 uses low-tempco thin-film resistors laser trimmed to ±¼ LSB linearity and better than ±1 LSB gain accuracy. The digital inputs are protected against electrostatic discharge (ESD) damage and can typically withstand over 5,000V of ESD voltages

Applications

  • µP-Controlled Systems
  • Automatic Calibration
  • Digitally Controlled Filters
  • Motion-Control Systems
  • Programmable Amplifiers/Attenuators

Subscribe to Welllinkchips !
Your Name
* Email
Submit a request