0
MAX5235
  • MAX5235

MAX5235

PRODUCTION

Single-Supply 3V/5V, Voltage-Output, Dual, Precision 12-Bit DACs Industry's Smallest and Most Accurate Dual 12-Bit DACs

Analog Devices MAX5235 Product Info

10 February 2026 8

Features

  • Guaranteed 1/2 LSB INL (max)
  • Low Supply Current
    • 325µA (Normal Operation)
    • 0.4µA (Full Power-Down Mode)
  • Single-Supply Operation
    • 3V (MAX5234)
    • 5V (MAX5235)
  • Space-Saving 10-Pin µMAX Package
  • Output Buffers Swing Rail-to-Rail
  • Power-On Reset Clears Registers and DACs to Zero
  • Programmable Shutdown Modes with 1kΩ or 200kΩ Internal Loads
  • Resets to Zero
  • 13.5MHz SPI/QSPI/MICROWIRE-Compatible, 3-Wire Serial Interface
  • Buffered Output Drives 5kΩ || 100pF

Part details & applications

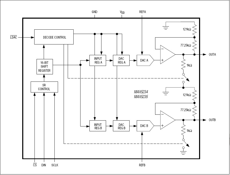
The MAX5234/MAX5235 precision, dual-output, 12-bit digital-to-analog converters (DACs) consume only 360µA from a single 5V (MAX5235) or 325µA from a single 3V (MAX5234) supply. These devices feature output buffers that swing rail-to-rail. The internal gain amplifiers maximize the dynamic range of the DAC output.

The MAX5234/MAX5235 feature a 13.5MHz 3-wire serial interface compatible with SPI™, QSPI™, and MICROWIRE™. Each DAC input is organized as an input register followed by a DAC register. A 16-bit shift register loads data into the input registers. Input registers update the DAC registers independently or simultaneously. In addition, programmable control bits allow power-down with 1kΩ or 200kΩ internal loads.

The MAX5234/MAX5235 are fully specified over the extended industrial temperature range (-40°C to +85°C) and are available in space-saving 10-pin µMAX packages.

Applications

  • µP-Controlled Systems
  • Automated Test Equipment (ATE)
  • Digital Gain and Offset Control
  • Industrial Process Controls
  • Motion Control

Subscribe to Welllinkchips !
Your Name
* Email
Submit a request