0
MAX14759
  • MAX14759

MAX14759

PRODUCTION

Above- and Below-the-Rails Low On-Resistance Analog Switches ±25V Above- and Below-the-Rails Switches Simplify Supplies

Analog Devices MAX14759 Product Info

10 February 2026 6

Features

  • Simplify Power-Supply Requirements
    • +3.0V to +5.5V Supply Range
    • -25V to +25V Signal Range
  • High Performance
    • Low 1Ω (max) or 2Ω (max) On-Resistance
    • Low 2.4mΩ (typ) and 5.1mΩ (typ) RON Flatness
    • 500mA (max) Switch Current for MAX14759
    • Thermal Shutdown Protection
    • -40°C to +85°C Operating Temperature Range
    • High Bandwidth: 100MHz (typ) Insertion Loss
    • High-ESD Protection Up to 2kV
  • Save Board Space
    • Small 8-Pin and 10-Pin TDFN Packages

Part details & applications

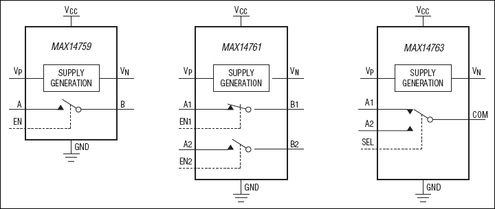
The MAX14759/MAX14761/MAX14763 analog switches are capable of passing bipolar signals that are beyond their supply rails. These devices operate from a single +3.0V to +5.5V supply and support signals in the -25V to +25V range.

The MAX14759 is a single-pole/single-throw (SPST) analog switch, while the MAX14761 is a dual-SPST analog switch. The MAX14763 is a single-pole/double-throw (SPDT) analog switch.

The MAX14759 features 1Ω (max) on-resistance with a ±200nA (max) on-leakage current. The MAX14761/MAX14763 feature 2Ω (max) on-resistance with a ±100nA (max) on-leakage current. The low on-resistance and high bandwidth allow use in digital- and analog-signal switching applications.

The MAX14759/MAX14763 are available in an 8-pin (3mm x 3mm) TDFN package. The MAX14761 is available in a 10-pin (3mm x 3mm) TDFN package. These devices are specified over the -40°C to +85°C extended temperature range.

Mobile App

Applications

  • ATE Systems
  • Audio Signal Routing and Switching
  • CAN Bus Termination Switching
  • Industrial Measurement Systems
  • Instrumentation Systems
  • Medical Systems
  • Opto-Relay Replacement
  • RS-485 Termination Switching

Subscribe to Welllinkchips !
Your Name
* Email
Submit a request