0
MAX11203
  • MAX11203

MAX11203

PRODUCTION

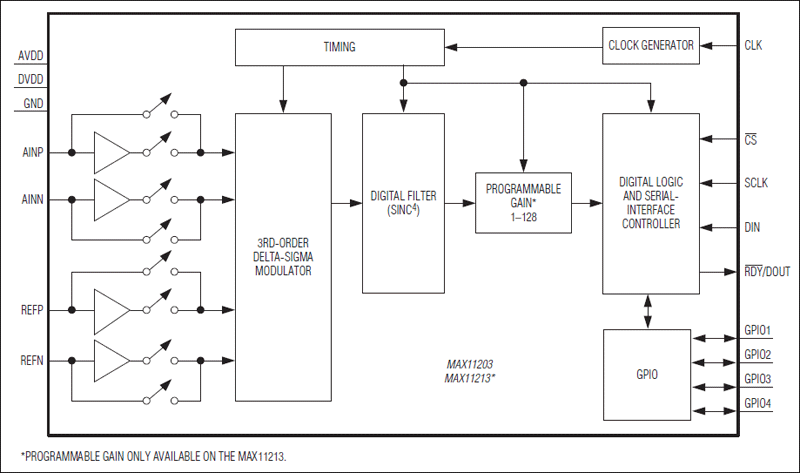
16-Bit, Single-Channel, Ultra-Low Power, Delta-Sigma ADC with Programmable Gain and GPIO Pin-Compatible Version of the 24-/20-/18-Bit Family

Analog Devices MAX11203 Product Info

10 February 2026 5

Features

  • Minimize Power Consumption with Ultra-Low Power Dissipation
    • Operating-Mode Current Drain < 300µA (max)
    • Sleep-Mode Current Drain < 0.4µA
  • Improve Measurement Quality with Excellent DC/AC Accuracy
    • 16-Bit Noise-Free Resolution and No Missing Codes
    • 570nVRMS Noise at 10sps, ±3.6VFS Input
    • 3ppm INL (typ), 20ppm (max)
  • Lower System Cost with Integrated Functionality
    • Programmable Gain (1 to 128) (MAX11213)
    • Four SPI-Controlled GPIOs for External Mux Control
    • Optional Input Buffers on Both Signal and Reference Inputs
    • > 100dB (min) 50Hz/60Hz Rejection
  • Increase System Accuracy with Built-in Self Calibration
    • On-Demand Offset and Gain Self-Calibration and System Calibration
    • User-Programmable Offset and Gain Registers
  • Increase System Robustness and Reliability with ±2kV ESD Protection
    • 2.7V to 3.6V Analog Supply Range
    • 1.7V to 3.6V Digital and I/O Supply Range
    • -40°C to 85°C Operating Temperature Range

Part details & applications

The MAX11203/MAX11213 are ultra-low-power (< 300µA active current), high-resolution, serial-output ADCs. These devices provide the highest resolution per unit power in the industry, and are optimized for applications that require very high dynamic range with low power, such as sensors on a 4mA to 20mA industrial control loop. Optional input buffers provide isolation of the signal inputs from the switched capacitor sampling network allowing these converters to be used with high-impedance sources without compromising available dynamic range or linearity. The devices provide a high-accuracy internal oscillator that requires no external components. When used with the specified data rates, the internal digital filter provides more than 100dB rejection of 50Hz or 60Hz line noise. The devices are configurable using the SPI interface and are available in a 16-pin QSOP package.

Applications

  • Battery Applications
  • Portable Instrumentation
  • Sensor Measurement (Temperature and Pressure)
  • Weigh Scales

Subscribe to Welllinkchips !
Your Name
* Email
Submit a request