0
LTC2636
  • LTC2636
  • LTC2636
  • LTC2636
  • LTC2636

LTC2636

PRODUCTION

Octal 12-/10-/8-Bit SPI VOUT DACs with 10ppm/°C Reference

Analog Devices LTC2636 Product Info

10 February 2026 7

Features

  • Integrated Precision Reference
    • 2.5V Full-Scale 10ppm/°C (LTC2636-L)
    • 4.096V Full-Scale 10ppm/°C (LTC2636-H)
  • Maximum INL Error: 2.5LSB (LTC2636-12)
  • Low Noise: 0.75mVP-P 0.1Hz to 200KHz
  • Guaranteed Monotonic Over –40°C to 125°C Temperature Range
  • Selectable Internal or External Reference
  • 2.7V to 5.5V Supply Range (LTC2636-L)
  • Ultralow Crosstalk Between DACs (<2.4nV•s)
  • Low Power: 0.9mA at 3V (LTC2636-L)
  • Power-On-Reset to Zero-Scale/Mid-Scale
  • Double-Buffered Data Latches
  • Tiny 14-Lead 4mm × 3mm DFN and 16-Lead MSOP Packages

Part details & applications

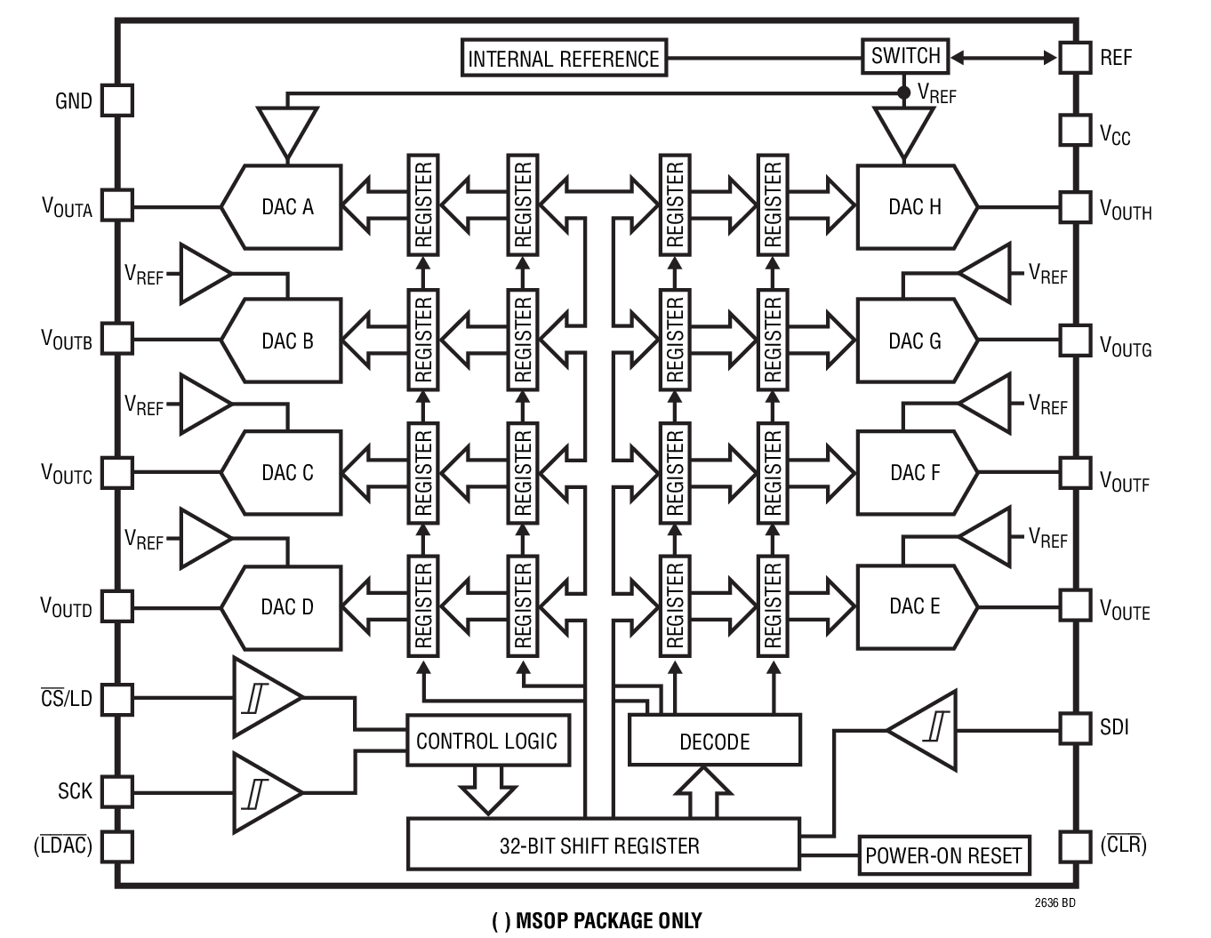
The LTC2636 is a family of octal 12-, 10-, and 8-bit voltage-output DACs with an integrated, high-accuracy, low-drift 10ppm/°C reference in 14-lead DFN and 16-lead MSOP packages. It has a rail-to-rail output buffer and is guaranteed monotonic. The LTC2636-L has a full-scale output of 2.5V, and operates from a single 2.7V to 5.5V supply. The LTC2636-H has a full-scale output of 4.096V, and operates from a 4.5V to 5.5V supply. Each DAC can also operate with an external reference, which sets the DAC full-scale output to the external reference voltage.

These DACs communicate via an SPI/MICROWIRE-compatible 3-wire serial interface which operates at clock rates up to 50MHz. Hardware clear (CLR) and asynchronous DAC update (LDAC) pins are available in the MSOP package. The LTC2636 incorporates a power-on reset circuit. Options are available for reset to zero-scale or reset to mid-scale in internal reference mode, or reset to mid-scale in external reference mode after power-up.

Applications

  • Mobile Communications
  • Process Control and Industrial Automation
  • Automatic Test Equipment
  • Portable Equipment
  • Automotive
  • Optical Networking

Subscribe to Welllinkchips !
Your Name
* Email
Submit a request