0
LTC2617
  • LTC2617
  • LTC2617
  • LTC2617

LTC2617

PRODUCTION

14-Bit Dual Rail-to-Rail DAC with I2C Interface

Analog Devices LTC2617 Product Info

10 February 2026 7

Features

  • Smallest Pin-Compatible Dual DACs:
    • LTC2607: 16 Bits
    • LTC2617: 14 Bits
    • LTC2627: 12 Bits
  • Guaranteed Monotonic Over Temperature
  • 27 Selectable Addresses
  • 400kHz I2C Interface
  • Wide 2.7V to 5.5V Supply Range
  • Low Power Operation: 260μA per DAC at 3V
  • Power Down to 1μA, Max
  • High Rail-to-Rail Output Drive (±15mA, Min)
  • Ultralow Crosstalk (30μV)
  • Double-Buffered Data Latches
  • Asynchronous DAC Update Pin
  • LTC2607/LTC2617/LTC2627: Power-On Reset to Zero Scale
  • LTC2607-1/LTC2617-1/LTC2627-1: Power-On Reset to Mid-Scale
  • Tiny (3mm × 4mm) 12-Lead DFN Package

Part details & applications

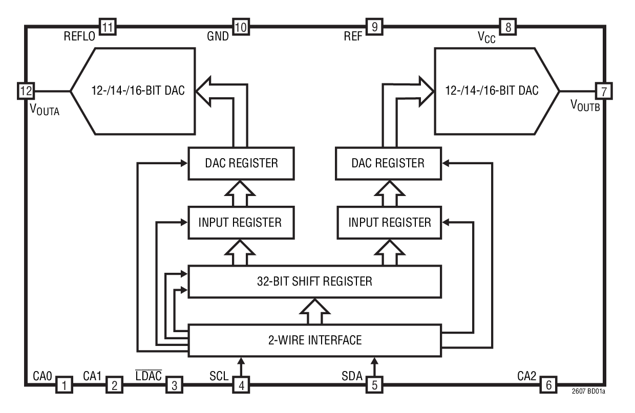
The LTC2607/LTC2617/LTC2627 are dual 16-, 14- and 12-bit, 2.7V to 5.5V rail-to-rail voltage output DACs in a 12-lead DFN package. They have built-in high performance output buffers and are guaranteed monotonic.

These parts establish new board-density benchmarks for 16- and 14-bit DACs and advance performance standards for output drive and load regulation in single-supply, voltage-output DACs.

The parts use a 2-wire, I2C compatible serial interface. The LTC2607/LTC2617/LTC2627 operate in both the standard mode (clock rate of 100kHz) and the fast mode (clock rate of 400kHz). An asynchronous DAC update pin (LDAC) is also included.

The LTC2607/LTC2617/LTC2627 incorporate a power-on reset circuit. During power-up, the voltage outputs rise less than 10mV above zero scale; and after power-up, they stay at zero scale until a valid write and update take place. The power-on reset circuit resets the LTC2607-1/LTC2617-1/ LTC2627-1 to mid-scale. The voltage outputs stay at midscale until a valid write and update takes place.

Applications

  • Mobile Communications
  • Process Control and Industrial Automation
  • Instrumentation
  • Automatic Test Equipment

Subscribe to Welllinkchips !
Your Name
* Email
Submit a request