0
LTC2295
  • LTC2295
  • LTC2295
  • LTC2295

LTC2295

PRODUCTION

Dual 14-Bit, 10Msps Low Power 3V ADC

Analog Devices LTC2295 Product Info

10 February 2026 8

Features

  • Integrated Dual 14-Bit ADCs
  • Sample Rate: 10Msps
  • Single 3V Supply (2.7V to 3.4V)
  • Low Power: 120mW
  • 74.4dB SNR
  • 90dB SFDR
  • 110dB Channel Isolation
  • Multiplexed or Separate Data Bus
  • Flexible Input: 1VP-P to 2VP-P Range
  • 575MHz Full Power Bandwidth S/H
  • Clock Duty Cycle Stabilizer
  • Shutdown and Nap Modes
  • Pin Compatible Family
    • 105Msps: LTC2282 (12-Bit), LTC2284 (14-Bit)
    • 80Msps: LTC2294 (12-Bit), LTC2299 (14-Bit)
    • 65Msps: LTC2293 (12-Bit), LTC2298 (14-Bit)
    • 40Msps: LTC2292 (12-Bit), LTC2297 (14-Bit)
    • 25Msps: LTC2291 (12-Bit), LTC2296 (14-Bit)
    • 10Msps: LTC2290 (12-Bit), LTC2295 (14-Bit)
  • 64-Pin (9mm × 9mm) QFN Package

Part details & applications

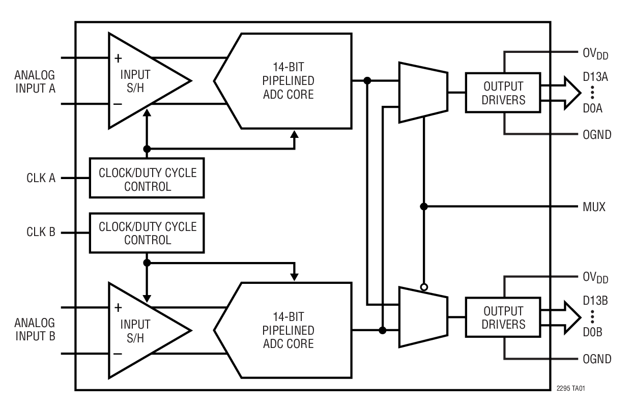
The LTC2295 is a 14-bit 10Msps, low power dual 3V A/D converter designed for digitizing high frequency, wide dynamic range signals. The LTC2295 is perfect for demanding imaging and communications applications with AC performance that includes 74.4dB SNR and 90dB SFDR for signals well beyond the Nyquist frequency.

DC specs include ±1.2LSB INL (typ), ±0.5LSB DNL (typ) and no missing codes over temperature. The transition noise is a low 1LSBRMS.

A single 3V supply allows low power operation. A separate output supply allows the outputs to drive 0.5V to 3.6V logic. An optional multiplexer allows both channels to share a digital output bus.

A single-ended CLK input controls converter operation. An optional clock duty cycle stabilizer allows high performance at full speed for a wide range of clock duty cycles.

Applications

  • Wireless and Wired Broadband Communication
  • Imaging Systems
  • Spectral Analysis
  • Portable Instrumentation

Subscribe to Welllinkchips !
Your Name
* Email
Submit a request