0
LTC2262-14
  • LTC2262-14
  • LTC2262-14
  • LTC2262-14
  • LTC2262-14
  • LTC2262-14

LTC2262-14

PRODUCTION

14-Bit, 150Msps Ultralow Power 1.8V ADC

Analog Devices LTC2262-14 Product Info

10 February 2026 7

Features

  • 72.8dB SNR
  • 88dB SFDR
  • Low Power: 149mW
  • Single 1.8V Supply
  • CMOS, DDR CMOS or DDR LVDS Outputs
  • Selectable Input Ranges: 1VP-P to 2VP-P
  • 800MHz Full-Power Bandwidth S/H
  • Optional Data Output Randomizer
  • Optional Clock Duty Cycle Stabilizer
  • Shutdown and Nap Modes
  • Serial SPI Port for Configuration
  • Pin Compatible 14-Bit and 12-Bit Versions
  • 40-Pin (6mm × 6mm) QFN Package

Part details & applications

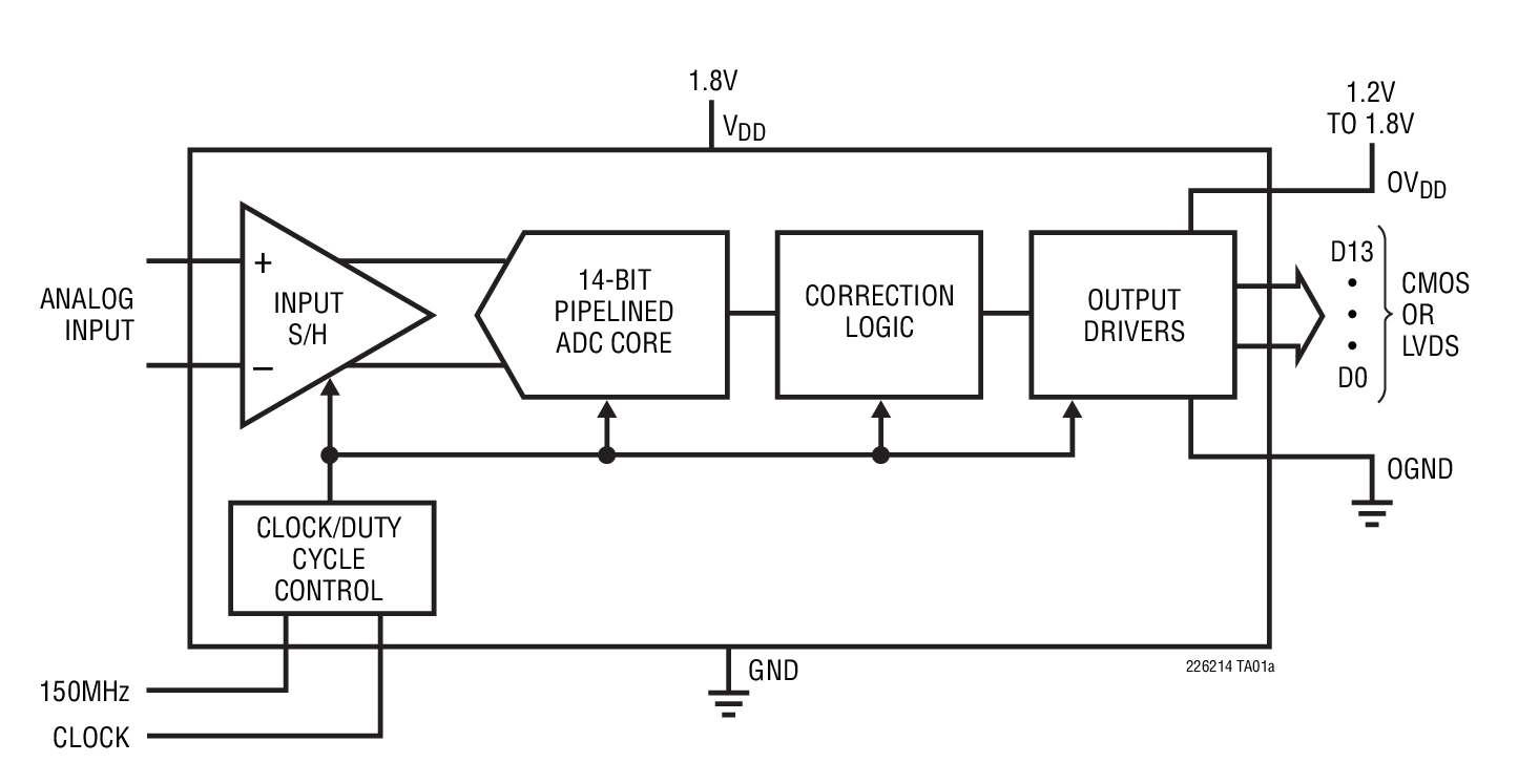
The LTC2262-14 is a sampling 14-bit A/D converter designed for digitizing high frequency, wide dynamic range signals. The LTC2262-14 is perfect for demanding communications applications with AC performance that includes 72.8dB SNR and 88dB spurious free dynamic range (SFDR). Ultralow jitter of 0.17psRMS allows undersampling of IF frequencies with excellent noise performance.

DC specs include ±1LSB INL (typical), ±0.3LSB DNL (typical) and no missing codes over temperature. The transition noise is a low 1.2LSBRMS.

The digital outputs can be either full rate CMOS, double data rate CMOS, or double data rate LVDS. A separate output power supply allows the CMOS output swing to range from 1.2V to 1.8V.

The ENC+ and ENC inputs may be driven differentially or single ended with a sine wave, PECL, LVDS, TTL or CMOS inputs. An optional clock duty cycle stabilizer allows high performance at full speed for a wide range of clock duty cycles.

Bits
LTC2262-12 12
LTC2262-14 14

Applications

  • Communications
  • Cellular Base Stations
Subscribe to Welllinkchips !
Your Name
* Email
Submit a request