0
LTC2151-12
  • LTC2151-12
  • LTC2151-12
  • LTC2151-12

LTC2151-12

PRODUCTION

Single 12-Bit 210Msps ADCs

Analog Devices LTC2151-12 Product Info

10 February 2026 6

Features

  • 68.5dB SNR
  • 90dB SFDR
  • Low Power: 347mW/333mW/306mW Total
  • Single 1.8V Supply
  • DDR LVDS Outputs
  • Easy-to-Drive 1.5VP-P Input Range
  • 1.25GHz Full Power Bandwidth S/H
  • Optional Clock Duty Cycle Stabilizer
  • Low Power Sleep and Nap Modes
  • Serial SPI Port for Configuration
  • Pin-Compatible 14-Bit Versions
  • 40-Lead (6mm × 6mm) QFN Package

Part details & applications

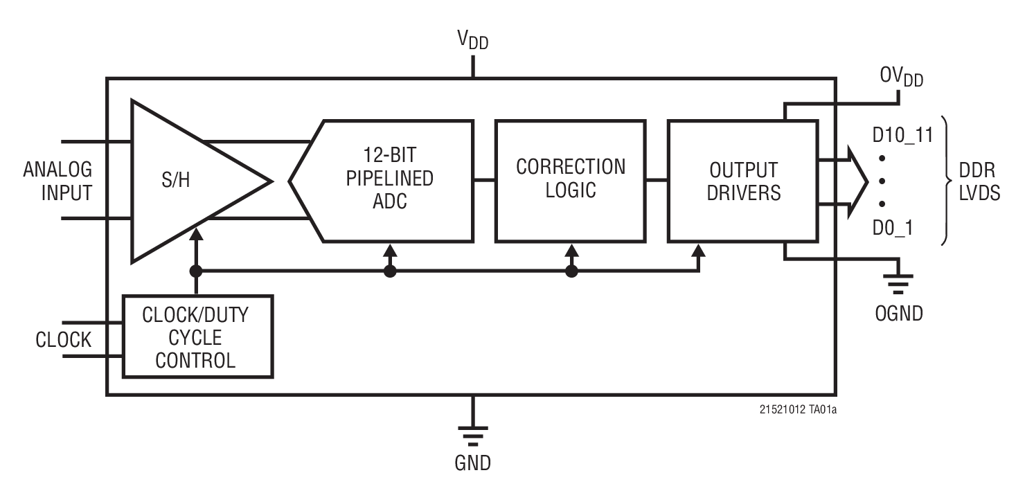
The LTC2152-12/LTC2151-12/LTC2150-12 are a family of 250Msps/210Msps/170Msps 12-bit A/D converters designed for digitizing high frequency, wide dynamic range signals. They are perfect for demanding communications applications with AC performance that includes 68.5dB SNR and 90dB spurious free dynamic range (SFDR). The 1.25GHz input bandwidth allows the ADC to undersample high input frequencies with good performance. The latency is only five clock cycles.

DC specs include ±0.26LSB INL (typ), ±0.16LSB DNL (typ) and no missing codes over temperature. The transition noise is 0.54LSBRMS.

The digital outputs are double-data rate (DDR) LVDS.

The ENC+ and ENC inputs can be driven differentially with a sine wave, PECL, LVDS, TTL, or CMOS inputs. An optional clock duty cycle stabilizer allows high performance at full speed for a wide range of clock duty cycles.

  Bits
LTC2151-12 12
LTC2151-14 14

Applications

  • Communications
  • Cellular Basestations
  • Software Defined Radios
  • Medica

Subscribe to Welllinkchips !
Your Name
* Email
Submit a request