0
DS1807
  • DS1807

DS1807

PRODUCTION

Addressable Dual Audio Taper Potentiometer

Analog Devices DS1807 Product Info

10 February 2026 5

Features

  • Operates from 3V or 5V power supplies
  • Ultra low-power consumption
  • Dual digitally controlled, 65-position potentiometers
  • Logarithmic resistance characteristic (1dB per step)
  • Zero crossing eliminates noise caused by discrete wiper changes
  • 2-wire addressable control interface
  • Industrial operating temperature range: -40°C to +85°C

Part details & applications

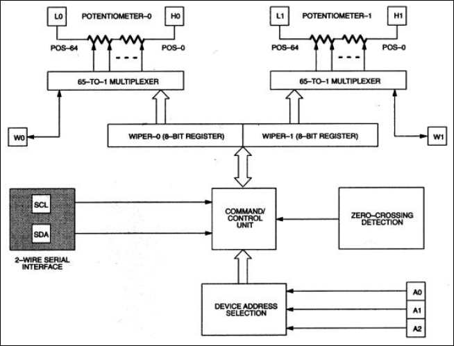
The DS1807 consists of two addressable potentiometers having a logarithmic resistor characteristic over the device range. Each potentiometer provides 64 wiper positions with a 1dB-per-step resolution. The device also provides greater than 90dB of attenuation in the mute position. Zero-crossing detection is a primary feature of the DS1807 allowing for pop-free wiper transitions. Wiper positions are read and controlled via a 2-wire interface, which allows up to 8 devices to be controlled on the same 2-wire bus.

The DS1802 provides high-performance audio volume and tone control with processor addressability. It replaces mechanical potentiometers with digital accuracy and reliability while its low-power circuits consume very little current.

Subscribe to Welllinkchips !
Your Name
* Email
Submit a request