0
DS1803
  • DS1803

DS1803

PRODUCTION

Addressable Dual Digital Potentiometer

Analog Devices DS1803 Product Info

10 February 2026 10

Features

  • 3V or 5V Operation
  • Ultra-Low Power Consumption
  • Two Digitally Controlled, 256- Potentiometers
  • 14-Pin TSSOP (173 mil) and 16- mil) Packaging Available for Surface- Applications
  • Addressable Using 3 Address
  • 2-Wire Serial Interface
  • Operating Temperature Range:
    • Industrial: -40°C to +85°C
  • Standard Resistance Values:x02
    • DS1803-010 10kΩ
    • DS1803-050 50kΩ
    • DS1803-100 100kΩ

Part details & applications

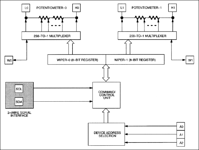
The DS1803 addressable dual digital potentiometer features two independently controlled 256-position potentiometers. Device control is achieved through a 2-wire serial interface. Three address pins allow up to 8 DS1803's to share the same 2-wire interface. The exact wiper position of each potentiometer can be written or read. The DS1803 is available in a 16-pin DIP, 16-pin SO, and 14-pin TSSOP package. The device is available in three standard resistance values: 10kΩ, 50kΩ, and 100kΩ and is specified over the industrial temperature range.

Subscribe to Welllinkchips !
Your Name
* Email
Submit a request