0
DS1315
  • DS1315

DS1315

PRODUCTION

Phantom Time Chip

Analog Devices DS1315 Product Info

10 February 2026 8

Features

  • Real-Time Clock Keeps Track of Hundredths of Seconds, Seconds, Minutes, Hours, Days, Date of the Month, Months, and Years
  • Automatic Leap Year Correction Valid Up to 2100
  • No Address Space Required to Communicate with RTC
  • Provides Nonvolatile Controller Functions for Battery Backup of SRAM
  • Supports Redundant Battery Attachment for High-Reliability Applications
  • Full ±10% VCC Operating Range
  • +3.3V or +5V Operation
  • Industrial (–40°C to +85°C) Operating Temperature Ranges Available

Part details & applications

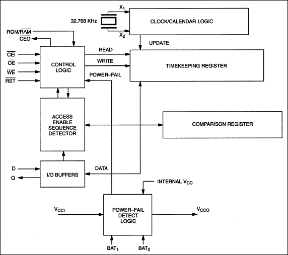
The DS1315 Phantom Time Chip is a combination of a CMOS timekeeper and a nonvolatile memory controller. In the absence of power, an external battery maintains the timekeeping operation and provides power for a CMOS static RAM. The watch keeps track of hundredths of seconds, seconds, minutes, hours, day, date, month, and year information. The last day of the month is automatically adjusted for months with less than 31 days, including leap year correction. The watch operates in one of two formats: a 12-hour mode with an AM/PM indicator or a 24-hour mode. The nonvolatile controller supplies all the necessary support circuitry to convert a CMOS RAM to a nonvolatile memory. The DS1315 can be interfaced with either RAM or ROM without leaving gaps in memory.

Subscribe to Welllinkchips !
Your Name
* Email
Submit a request