0
ADXRS453
  • ADXRS453
  • ADXRS453
  • ADXRS453

ADXRS453

RECOMMENDED FOR NEW DESIGNS

High Performance, Digital Output Gyroscope

Analog Devices ADXRS453 Product Info

10 February 2026 6

Features

  • Complete rate gyroscope on a single chip
  • ±300°/sec angular rate sensing
  • Ultrahigh vibration rejection: 0.01°/sec/g
  • Excellent 16°/hour null bias stability
  • Internal temperature compensation
  • 2000 g powered shock survivability
  • SPI Digital output with 16-bit data word
  • Low noise and low power
  • 3.3 V to 5 V operation
  • -40°C to + 105°C operation
  • Ultra small, light, and RoHS compliant
  • Two package options:
    -- Low cost SOIC_CAV package for yaw rate (z-axis) response
    -- Innovative ceramic vertical mount package (LCC_V), which can be oriented for pitch, roll, or yaw response

Part details & applications

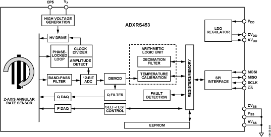
The ADXRS453 is an angular rate sensor (gyroscope) intended for industrial, instrumentation, and stabilization applications in high vibration environments. An advanced, differential, quad sensor design rejects the influence of linear acceleration, enabling the ADXRS453 to offer high accuracy rate sensing in harsh envi-ronments where shock and vibration are present.

The ADXRS453 uses an internal, continuous self-test architec-ture. The integrity of the electromechanical system is checked by applying a high frequency electrostatic force to the sense structure to generate a rate signal that can be differentiated from the base-band rate data and internally analyzed.

The ADXRS453 is capable of sensing an angular rate of up to ±300°/sec. Angular rate data is presented as a 16-bit word that is part of a 32-bit SPI message.

The ADXRS453 is available in a 16-lead plastic cavity SOIC (SOIC_CAV) and an SMT-compatible vertical mount package (LCC_V), and is capable of operating across a wide voltage range (3.3 V to 5 V).

Applications

  • Rotation sensing in high vibration environments
  • Rotation sensing for industrial and instrumentation applications
  • High performance platform stabilization

Subscribe to Welllinkchips !
Your Name
* Email
Submit a request