0
ADXL325
  • ADXL325
  • ADXL325

ADXL325

PRODUCTION

Small, Low Power, 3-Axis ±5 g Accelerometer

Analog Devices ADXL325 Product Info

10 February 2026 10

Features

  • 3-axis sensing
  • Small, low profile package
    4 mm × 4 mm × 1.45 mm LFCSP
  • Low power: 350 μA typical
  • Single-supply operation: 1.8 V to 3.6 V
  • 10,000 g shock survival
  • Excellent temperature stability
  • Bandwidth adjustment with a single capacitor per axis
  • RoHS/WEEE lead-free compliant

Part details & applications

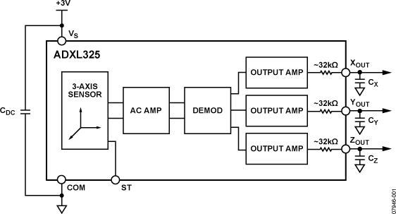
The ADXL325 is a small, low power, complete 3-axis accelerometer with signal conditioned voltage outputs. The product measures acceleration with a minimum full-scale range of ±5 g. It can measure the static acceleration of gravity in tilt-sensing applications, as well as dynamic acceleration, resulting from motion, shock, or vibration.

The user selects the bandwidth of the accelerometer using the CX, CY, and CZ capacitors at the XOUT, YOUT, and ZOUT pins. Bandwidths can be selected to suit the application with a range of 0.5 Hz to 1600 Hz for X and Y axes and a range of 0.5 Hz to 550 Hz for the Z axis.

The ADXL325 is available in a small, low profile, 4 mm × 4 mm × 1.45 mm, 16-lead, plastic lead frame chip scale package (LFCSP_LQ).

Subscribe to Welllinkchips !
Your Name
* Email
Submit a request