0
ADP220
  • ADP220
  • ADP220
  • ADP220
  • ADP220

ADP220

PRODUCTION

Dual, 200 mA, Low Noise, High PSRR Voltage Regulator

Analog Devices ADP220 Product Info

10 February 2026 10

Features

  • Input voltage range: 2.5 V to 5.5 V
  • Dual independent 200 mA low dropout voltage regulators
  • Miniature 6-ball, 1.0 mm × 1.5 mm WLCSP
  • Initial accuracy: ±1%

  • Stable with 1 μF ceramic output capacitors
  • No noise bypass capacitor required
  • Two independent logic controlled enables
  • Please see data sheet for additional features.

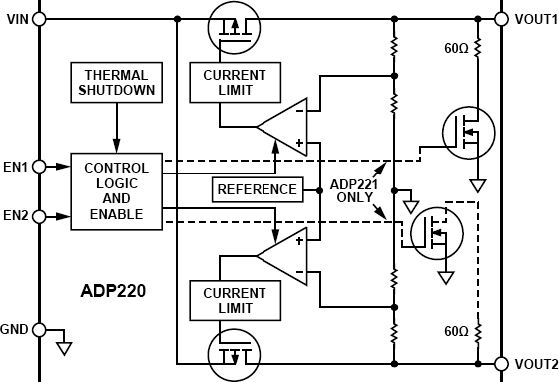
The 200 mA dual output ADP220 / ADP221 combine high PSRR, low noise, low quiescent current, and low dropout voltage in a voltage regulator ideally suited for wireless applications with demanding performance and board space requirements.

The low quiescent current, low dropout voltage, and wide input voltage range of the ADP220 / ADP221 extend the battery life of portable devices. The ADP220 / ADP221 maintain power supply rejection greater than 60 dB for frequencies as high as 100 kHz while operating with a low headroom voltage. The ADP220 offers much lower noise performance than competing LDOs without the need for a noise bypass capacitor. The ADP221 also includes an active pull-down to quickly discharge output loads.

The ADP220 / ADP221 are available in a miniature 6-ball WLCSP package and is stable with tiny 1 μF ± 30% ceramic output capacitors, resulting in the smallest possible board area for a wide variety of portable power needs.

The ADP220 / ADP221 are available in many output voltage combinations, ranging from 0.8 V to 3.3 V, and offer overcurrent and thermal protection to p

Part details & applications

The 200 mA dual output ADP220 / ADP221 combine high PSRR, low noise, low quiescent current, and low dropout voltage in a voltage regulator ideally suited for wireless applications with demanding performance and board space requirements.

The low quiescent current, low dropout voltage, and wide input voltage range of the ADP220 / ADP221 extend the battery life of portable devices. The ADP220 / ADP221 maintain power supply rejection greater than 60 dB for frequencies as high as 100 kHz while operating with a low headroom voltage. The ADP220 offers much lower noise performance than competing LDOs without the need for a noise bypass capacitor. The ADP221 also includes an active pull-down to quickly discharge output loads.

The ADP220 / ADP221 are available in a miniature 6-ball WLCSP package and is stable with tiny 1 μF ± 30% ceramic output capacitors, resulting in the smallest possible board area for a wide variety of portable power needs.

The ADP220 / ADP221 are available in many output voltage combinations, ranging from 0.8 V to 3.3 V, and offer overcurrent and thermal protection to prevent damage in adverse conditions.

APPLICATIONS

  • Mobile phones
  • Digital cameras and audio devices
  • Portable and battery-powered equipment
  • Portable medical devices
  • Post dc-to-dc regulation