0
ADG5233
  • ADG5233
  • ADG5233
  • ADG5233

ADG5233

RECOMMENDED FOR NEW DESIGNS

High Voltage Latch-Up Proof, Triple SPDT Switches

Analog Devices ADG5233 Product Info

10 February 2026 7

Features

  • Latch-up proof
  • 2.8 pF off source capacitance
  • 9 pF off drain capacitance
  • 0.4 pC charge injection
  • Low on resistance: 
    160 Ω typical
  • ±9 V to ±22 V dual-supply operation
  • 9 V to 40 V single-supply operation
  • 48 V supply maximum ratings
  • Fully specified at ±15 V, ±20 V, +12 V, and +36 V
  • VDD to VSS analog signal range
  • Human body model (HBM) ESD rating
    8 kV input/output port to supplies
    2 kV input/output port to input/output port
    8 kV all other pins

Part details & applications

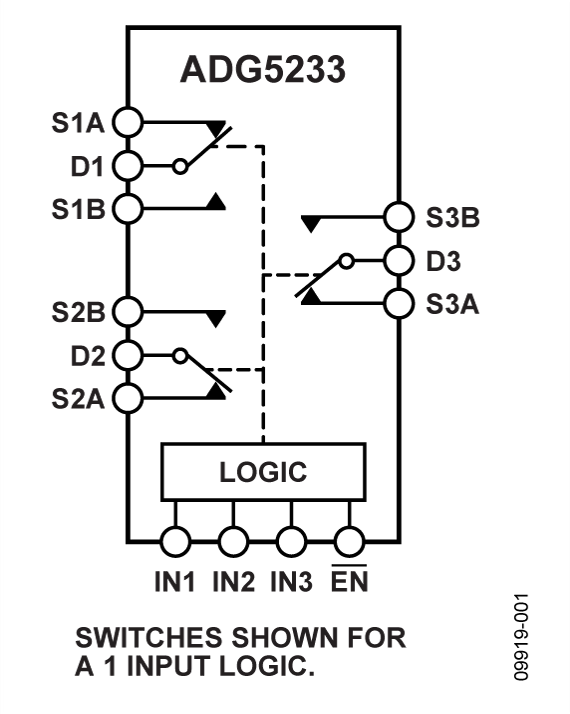
The ADG5233 and ADG5234 are monolithic industrial CMOS analog switches comprising three independently selectable single-pole, double throw (SPDT) switches and four independently selectable SPDT switches, respectively.

All channels exhibit break-before-make switching action that prevents momentary shorting when switching channels. An EN input on the ADG5233 (LFCSP and TSSOP packages) is used to enable or disable the device. When disabled, all channels are switched off.

The ultralow capacitance and charge injection of these switches make them ideal solutions for data acquisition and sample-and-hold applications, where low glitch and fast settling are required. Fast switching speed coupled with high signal bandwidth make these devices suitable for video signal switching.

APPLICATIONS

  • Automatic test equipment
  • Data acquisition
  • Instrumentation
  • Avionics
  • Audio and video switching
  • Communication systems

PRODUCT HIGHLIGHTS

  1. Trench Isolation Guards Against Latch-Up. A dielectric trench separates the P and N channel transistors thereby preventing latch-up even under severe overvoltage conditions.
  2. Ultralow Capacitance and −0.6 pC Charge Injection.
  3. Dual-Supply Operation. For applications where the analog signal is bipolar, the ADG5233/ADG5234 can be operated from dual supplies up to ±22 V.
  4. Single-Supply Operation. For applications where the analog signal is unipolar, the ADG5233/ADG5234 can be operated from a single-rail power supply up to 40 V. 
  5. 3 V Logic-Compatible Digital Inputs. VINH = 2.0 V, VINL = 0.8 V.
  6. No VL Logic Power Supply Required.

Subscribe to Welllinkchips !
Your Name
* Email
Submit a request